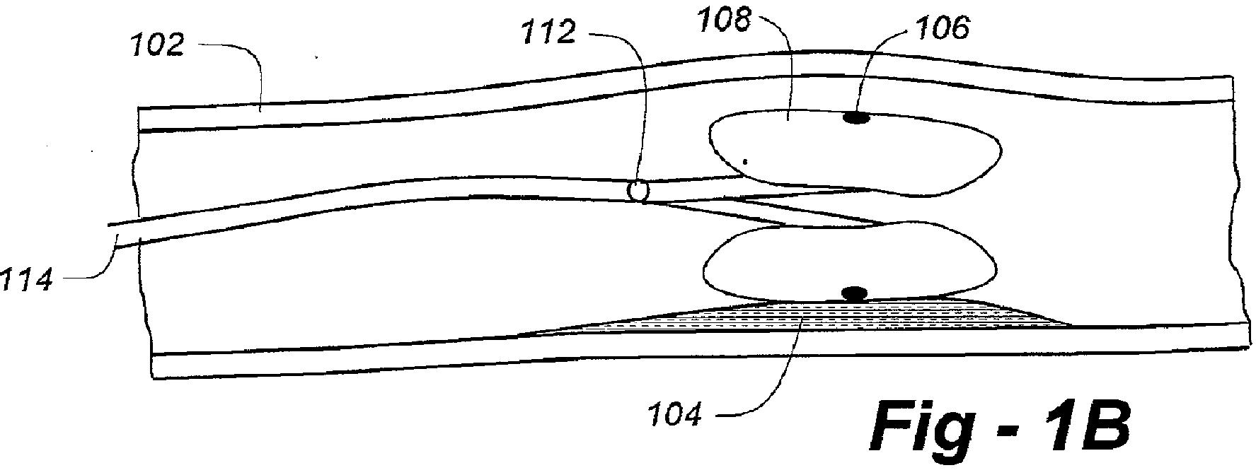
标题:
Temperature sensing catheter
授权日:
1900-01-01
公开(公告)号:
US20010053882A1
申请日:
2001-06-15
公开(公告)日:
2001-12-20
当前申请(专利权)人:
ACCUMED SYSTEMS, INC.
发明人:
HADDOCK, THOMAS F. | O'NEILL, WILLIAM W.
简单同族:
AU2001273597A1 | CA2411941A1 | CA2411941C | EP1294275A2 | EP1294275A4 | JP2005515795A | US20010053882A1 | US6712771 | WO2001095787A2 | WO2001095787A3
简单同族成员数量:
10
简单同族被引用专利总数:
108
诉讼案件数:
0
法律状态/事件:
授权 | 权利转移