首页
专利数据库
产业人才
行业动态
产业政策法规
维权援助
个人中心
登录/注册
详情
文本
图像
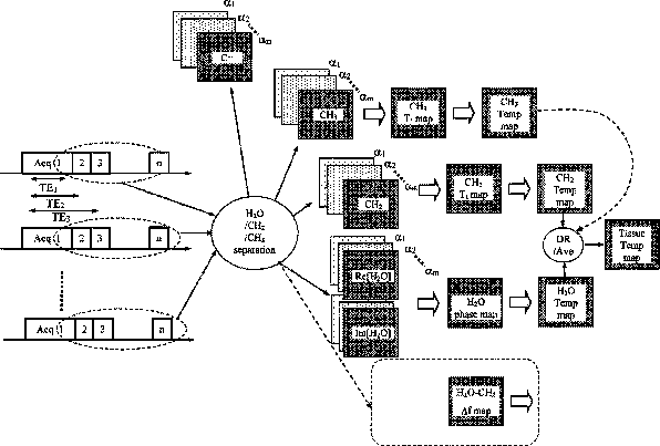
标题:
Method for measuring and imaging temperature distribution in tissue
授权日:
2014-09-23
公开(公告)号:
US8843191
申请日:
2010-09-29
公开(公告)日:
2014-09-23
当前申请(专利权)人:
KONINKLIJKE PHILIPS ELECTRONICS N.V.
发明人:
KURODA, KAGAYAKI
简单同族:
EP2505138A1 | EP2505138A4 | JP5654472B2 | JPWO2011040439A1 | US20120271152A1 | US8843191 | WO2011040439A1
简单同族成员数量:
7
简单同族被引用专利总数:
5
诉讼案件数:
0
法律状态/事件:
授权 | 权利转移