标题:
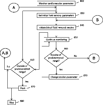
Cardiovascular monitoring for fluid removal processes
授权日:
2015-06-23
公开(公告)号:
US9061099
申请日:
2012-03-20
公开(公告)日:
2015-06-23
当前申请(专利权)人:
MEDTRONIC, INC.
发明人:
GERBER, MARTIN | BURNES, JOHN | LYU, SUPING | VENKATESH, MANDA R. | PUDIL, BRYANT
简单同族:
CN103717132A | CN103717132B | CN103717243A | CN103717243B | CN103717244A | CN103717244B | CN103747731A | CN103747731B | CN103747816A | CN103747816B | CN103747817A | CN103747817B | CN103747819A | CN103747819B | CN105169509A | CN105169509B | CN105286787A | CN105286787B | CN106063701A | EP2701595A1 | EP2701595B1 | EP2701596A1 | EP2701596B1 | EP2701759A2 | EP2701760A1 | EP2701760B1 | EP2701761A1 | EP2701761B1 | EP2701764A1 | EP2701765A2 | EP2701765B1 | EP2701766A1 | EP3527134A1 | JP2014518687A | JP2014518687A5 | JP2014518688A | JP2014518688A5 | JP2014518689A | JP2014518689A5 | JP2014518690A | JP2014518691A | JP2014518692A | JP2014518692A5 | JP2015134176A | JP2017164547A | JP2017176847A | JP2017176847A5 | JP2018008091A | JP2019150651A | JP5705373B2 | JP5837679B2 | JP5841238B2 | JP6138762B2 | JP6153923B2 | US10064985 | US10179198 | US10293092 | US10406268 | US20120273415A1 | US20120273420A1 | US20120277551A1 | US20120277552A1 | US20120277604A1 | US20120277650A1 | US20120277655A1 | US20120277722A1 | US20150080682A1 | US20150088047A1 | US20150151033A1 | US20150352269A1 | US20150367054A1 | US20160206801A1 | US20170100529A1 | US20170361006A1 | US8926542 | US8951219 | US9061099 | US9192707 | US9302036 | US9561316 | US9597440 | US9642960 | US9700661 | US9750862 | US9968721 | WO2012148785A2 | WO2012148785A3 | WO2012148786A1 | WO2012148787A1 | WO2012148788A1 | WO2012148789A1 | WO2012148790A1 | WO2012148791A1 | WO2013101292A2 | WO2013101292A3
简单同族成员数量:
95
简单同族被引用专利总数:
145
诉讼案件数:
0
法律状态/事件:
授权 | 权利转移