首页
专利数据库
产业人才
行业动态
产业政策法规
维权援助
个人中心
登录/注册
详情
文本
图像
标题:
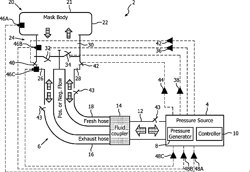
Respiratory interface apparatus
授权日:
1900-01-01
公开(公告)号:
US20130102916A1
申请日:
2011-05-18
公开(公告)日:
2013-04-25
当前申请(专利权)人:
KONINKLIJKE PHILIPS ELECTRONICS N V
发明人:
COLBAUGH, MICHAEL EDWARD | LUCCI, CHRISTOPHER SCOTT
简单同族:
CN102946933A | CN102946933B | EP2585154A1 | EP2585154B1 | US20130102916A1 | US9901695 | WO2011161561A1
简单同族成员数量:
7
简单同族被引用专利总数:
9
诉讼案件数:
0
法律状态/事件:
授权 | 权利转移