首页
专利数据库
产业人才
行业动态
产业政策法规
维权援助
个人中心
登录/注册
详情
文本
图像
标题:
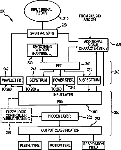
Multi-domain motion estimation and plethysmographic recognition using fuzzy neural-nets
授权日:
2005-08-16
公开(公告)号:
US6931269
申请日:
2004-08-27
公开(公告)日:
2005-08-16
当前申请(专利权)人:
DATEX-OHMEDA, INC.
发明人:
TERRY, ALVIN MARK
简单同族:
US20050049470A1 | US6931269 | WO2005020798A2 | WO2005020798A3
简单同族成员数量:
4
简单同族被引用专利总数:
341
诉讼案件数:
0
法律状态/事件:
授权 | 权利转移