首页
专利数据库
产业人才
行业动态
产业政策法规
维权援助
个人中心
登录/注册
详情
文本
图像
标题:
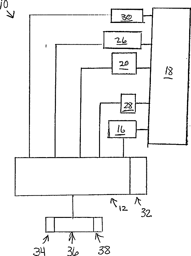
Method and apparatus for the synchronized therapeutic treatment of a life form
授权日:
1900-01-01
公开(公告)号:
US20020091308A1
申请日:
2001-01-09
公开(公告)日:
2002-07-11
当前申请(专利权)人:
KIPSHIDZE NICHOLAS N. | FALKOVICH MIKHAIL
发明人:
KIPSHIDZE, NICHOLAS N. | FALKOVICH, MIKHAIL
简单同族:
US20020091308A1
简单同族成员数量:
1
简单同族被引用专利总数:
142
诉讼案件数:
0
法律状态/事件:
撤回