首页
专利数据库
产业人才
行业动态
产业政策法规
维权援助
个人中心
登录/注册
详情
文本
图像
标题:
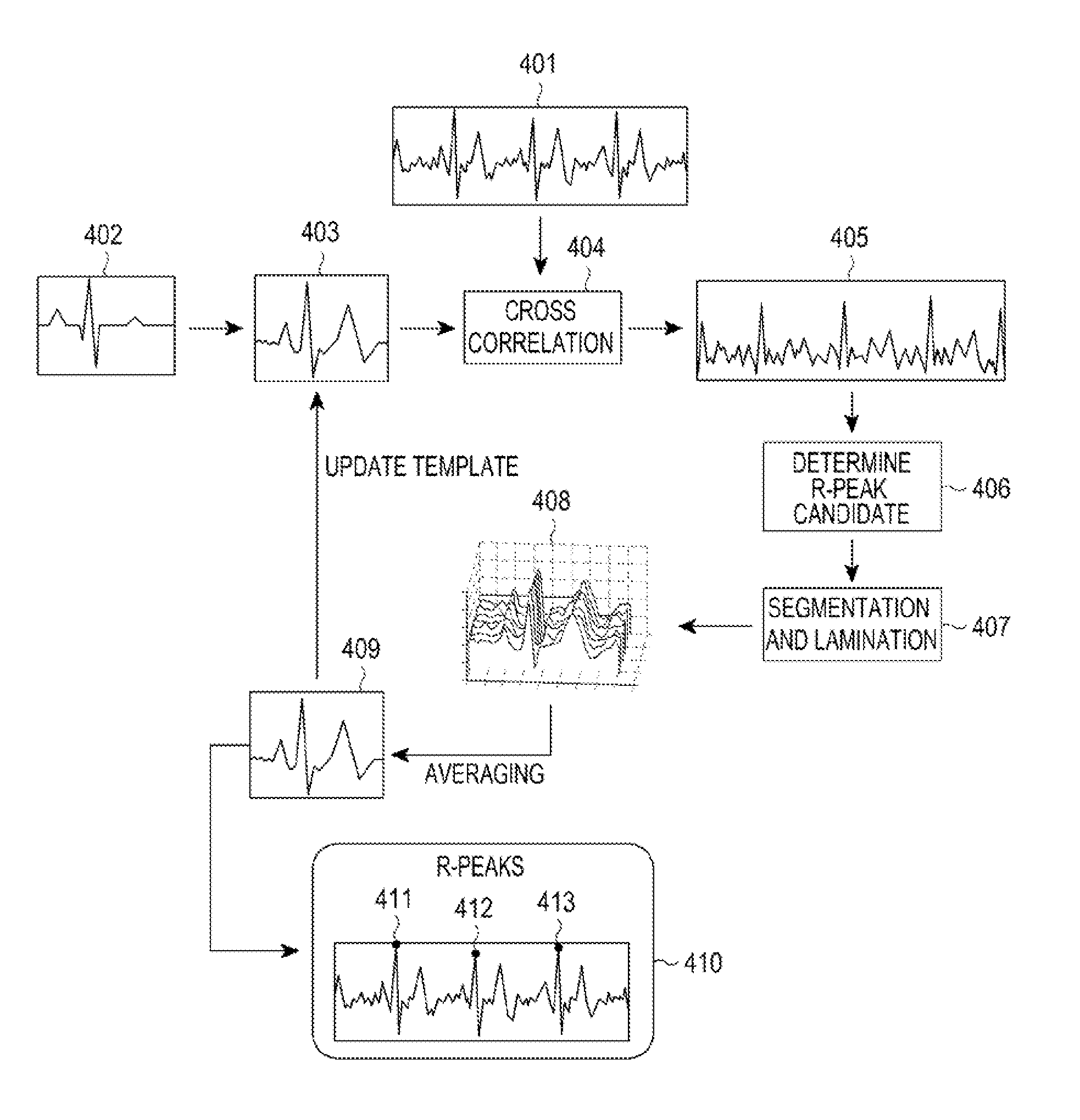
R-PEAK detection apparatus and control method thereof
授权日:
2015-09-01
公开(公告)号:
US9119546
申请日:
2012-12-21
公开(公告)日:
2015-09-01
当前申请(专利权)人:
INDUSTRY-ACADEMIC COOPERATION FOUNDATION YONSEI UNIVERSITY
发明人:
LEE, SANG-HUN | KIM, JI-HAN | HWANG, DO-SIK | JANG, UNG
简单同族:
KR1020130072728A | US20130165805A1 | US9119546
简单同族成员数量:
3
简单同族被引用专利总数:
7
诉讼案件数:
0
法律状态/事件:
授权 | 权利转移