首页
专利数据库
产业人才
行业动态
产业政策法规
维权援助
个人中心
登录/注册
详情
文本
图像
标题:
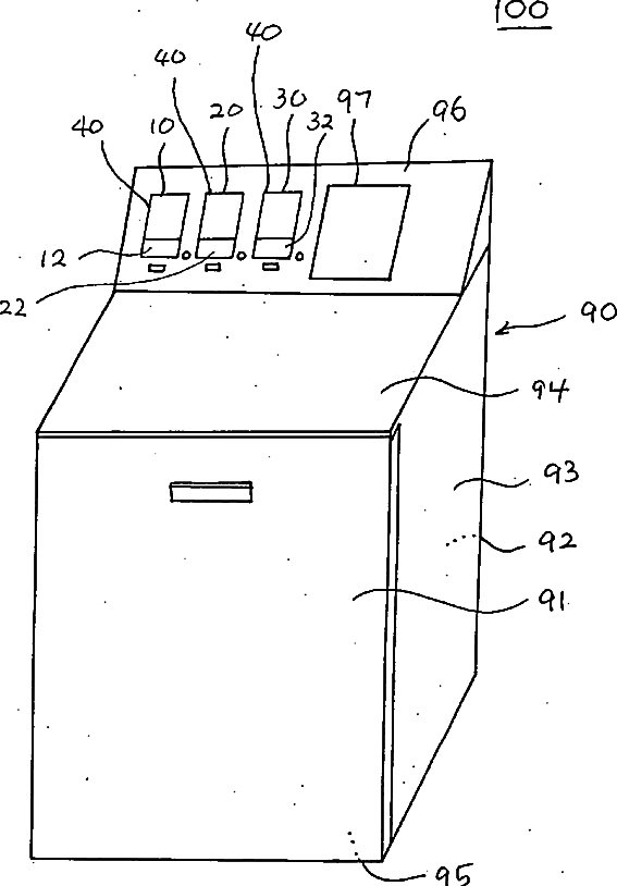
Refrigerator with health monitoring system
授权日:
1900-01-01
公开(公告)号:
US20070167692A1
申请日:
2006-01-17
公开(公告)日:
2007-07-19
当前申请(专利权)人:
KIM BRIAN S
发明人:
KIM, BRIAN S.
简单同族:
US20070167692A1
简单同族成员数量:
1
简单同族被引用专利总数:
7
诉讼案件数:
0
法律状态/事件:
撤回