首页
专利数据库
产业人才
行业动态
产业政策法规
维权援助
个人中心
登录/注册
详情
文本
图像
标题:
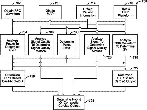
Systems and methods for determining cardiac output
授权日:
2015-03-10
公开(公告)号:
US8977348
申请日:
2012-12-21
公开(公告)日:
2015-03-10
当前申请(专利权)人:
COVIDIEN LP
发明人:
SU, MARK | WOOD, LOCKETT
简单同族:
US20140180136A1 | US8977348
简单同族成员数量:
2
简单同族被引用专利总数:
17
诉讼案件数:
0
法律状态/事件:
授权 | 权利转移