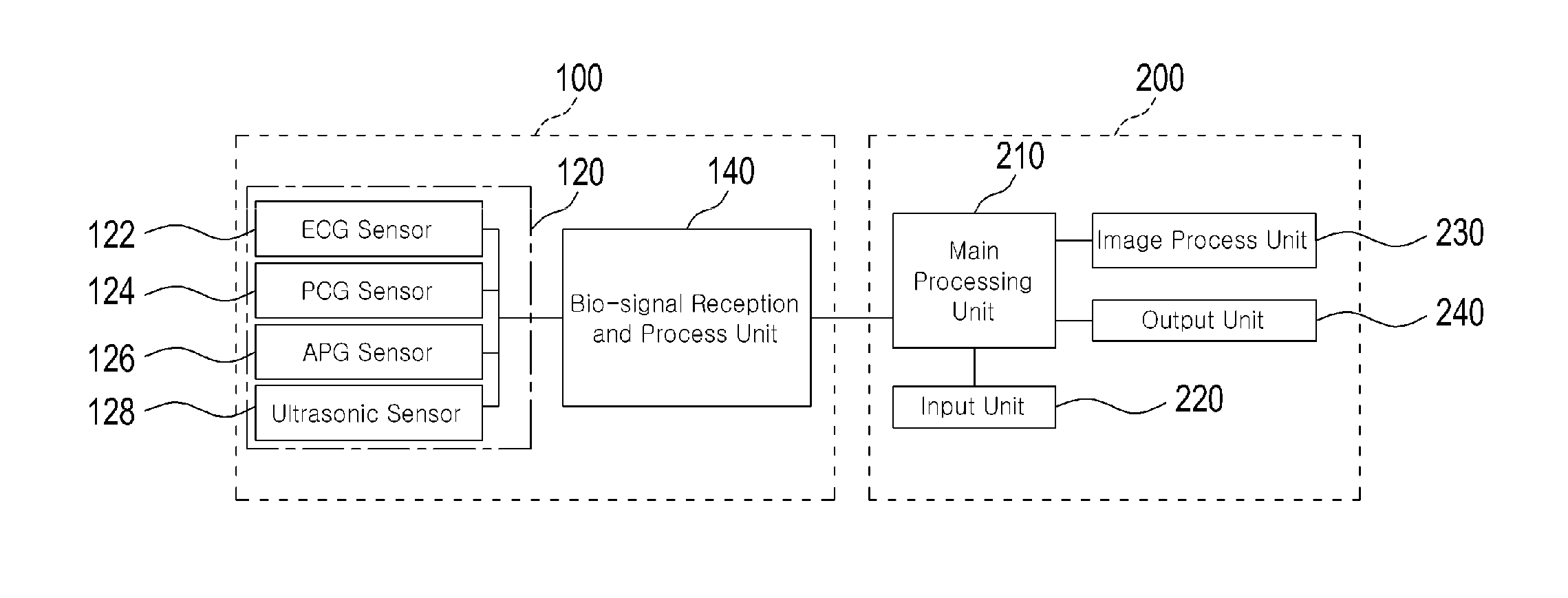
标题:
Cerebrovascular analyzer
授权日:
1900-01-01
公开(公告)号:
US20110275909A1
申请日:
2009-10-01
公开(公告)日:
2011-11-10
当前申请(专利权)人:
HYEON, SEOG SAN
发明人:
KIM, KWANG TAE
简单同族:
AU2009300539A1 | AU2009300539A2 | AU2009300539B2 | CA2738994A1 | CN102170832A | CN102170832B | EP2347715A2 | EP2347715A4 | JP2012504455A | JP5628180B2 | KR101124641B1 | KR1020100061619A | US20110275909A1 | US9265480 | WO2010038994A2 | WO2010038994A3 | WO2010038994A4
简单同族成员数量:
17
简单同族被引用专利总数:
5
诉讼案件数:
0
法律状态/事件:
授权 | 权利转移