首页
专利数据库
产业人才
行业动态
产业政策法规
维权援助
个人中心
登录/注册
详情
文本
图像
标题:
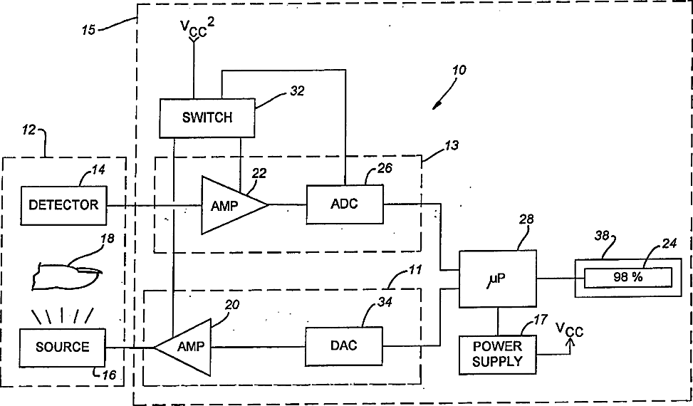
Low power pulse oximeter
授权日:
1900-01-01
公开(公告)号:
US20030069486A1
申请日:
2001-10-05
公开(公告)日:
2003-04-10
当前申请(专利权)人:
WELCH ALLYN, INC.
发明人:
SUEPPEL, BRIAN E. | MORTARA, DAVID W.
简单同族:
US20030069486A1 | US6697655
简单同族成员数量:
2
简单同族被引用专利总数:
216
诉讼案件数:
0
法律状态/事件:
授权 | 质押 | 权利转移