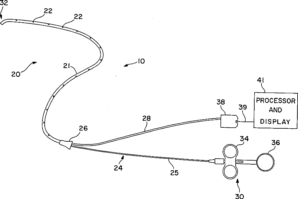
标题:
Steerable catheter and method for locating coronary sinus
授权日:
1900-01-01
公开(公告)号:
US20030195577A1
申请日:
2003-05-23
公开(公告)日:
2003-10-16
当前申请(专利权)人:
PIGOTT JOHN D.
发明人:
PIGOTT, JOHN D.
简单同族:
AT511876T | AU2002360287A1 | CA2464649A1 | EP1455889A2 | EP1455889A4 | EP1455889B1 | US20030078645A1 | US20030195577A1 | US6591144 | WO2003035139A2 | WO2003035139A3
简单同族成员数量:
11
简单同族被引用专利总数:
68
诉讼案件数:
0
法律状态/事件:
撤回