标题:
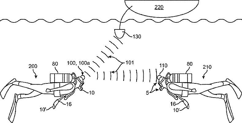
Mouthpiece for measurement of biometric data of a diver and underwater communication
授权日:
1900-01-01
公开(公告)号:
US20130116512A1
申请日:
2012-04-26
公开(公告)日:
2013-05-09
当前申请(专利权)人:
INCUBE LABS, LLC
发明人:
IMRAN, MIR
简单同族:
AU2012249600A1 | AU2012249600B2 | AU2016216717A1 | AU2016216717B2 | AU2018204239A1 | AU2018204239B2 | US20130116512A1 | US20180070822A1 | US9795296 | WO2012149227A2 | WO2012149227A3
简单同族成员数量:
11
简单同族被引用专利总数:
9
诉讼案件数:
0
法律状态/事件:
授权 | 权利转移