标题:
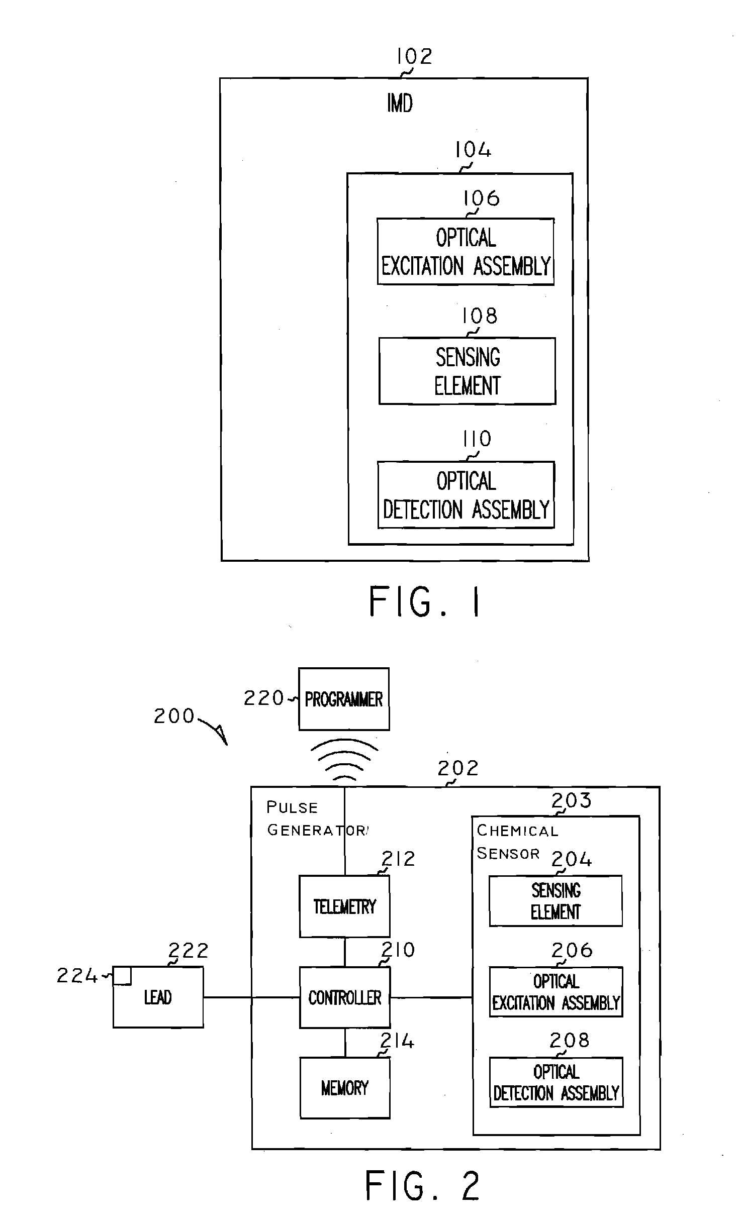
Implantable Medical Device with Chemical Sensor and Related Methods
授权日:
1900-01-01
公开(公告)号:
US20070270674A1
申请日:
2006-05-17
公开(公告)日:
2007-11-22
当前申请(专利权)人:
CARDIAC PACEMAKERS, INC.
发明人:
KANE, MICHAEL JOHN | ARX, JEFFREY ALLEN VON | BENTSEN, JAMES GREGORY
简单同族:
EP2024024A1 | JP2009537247A | JP5306996B2 | US20070270674A1 | US20070270675A1 | US20120197231A1 | US7809441 | US8126554 | US8571659 | WO2007137037A1
简单同族成员数量:
10
简单同族被引用专利总数:
272
诉讼案件数:
0
法律状态/事件:
授权 | 权利转移