首页
专利数据库
产业人才
行业动态
产业政策法规
维权援助
个人中心
登录/注册
详情
文本
图像
标题:
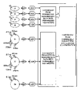
Blood sugar level measuring apparatus
授权日:
2005-10-11
公开(公告)号:
US6954661
申请日:
2003-08-15
公开(公告)日:
2005-10-11
当前申请(专利权)人:
HITACHI LTD.
发明人:
CHO, OK-KYUNG | KIM, YOON-OK
简单同族:
CN1316251C | CN1573332A | EP1491134A1 | JP2005013273A | JP3566277B1 | US20040260165A1 | US6954661
简单同族成员数量:
7
简单同族被引用专利总数:
78
诉讼案件数:
0
法律状态/事件:
未缴年费 | 权利转移