首页
专利数据库
产业人才
行业动态
产业政策法规
维权援助
个人中心
登录/注册
详情
文本
图像
标题:
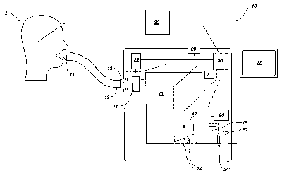
Calorimetry systems and methods
授权日:
2002-11-05
公开(公告)号:
US6475158
申请日:
2000-10-24
公开(公告)日:
2002-11-05
当前申请(专利权)人:
KORR MEDICAL TECHNOLOGIES, INC.
发明人:
ORR, JOSEPH A. | KOFOED, SCOTT A. | DURST, KEVIN
简单同族:
US6475158
简单同族成员数量:
1
简单同族被引用专利总数:
72
诉讼案件数:
0
法律状态/事件:
授权 | 权利转移