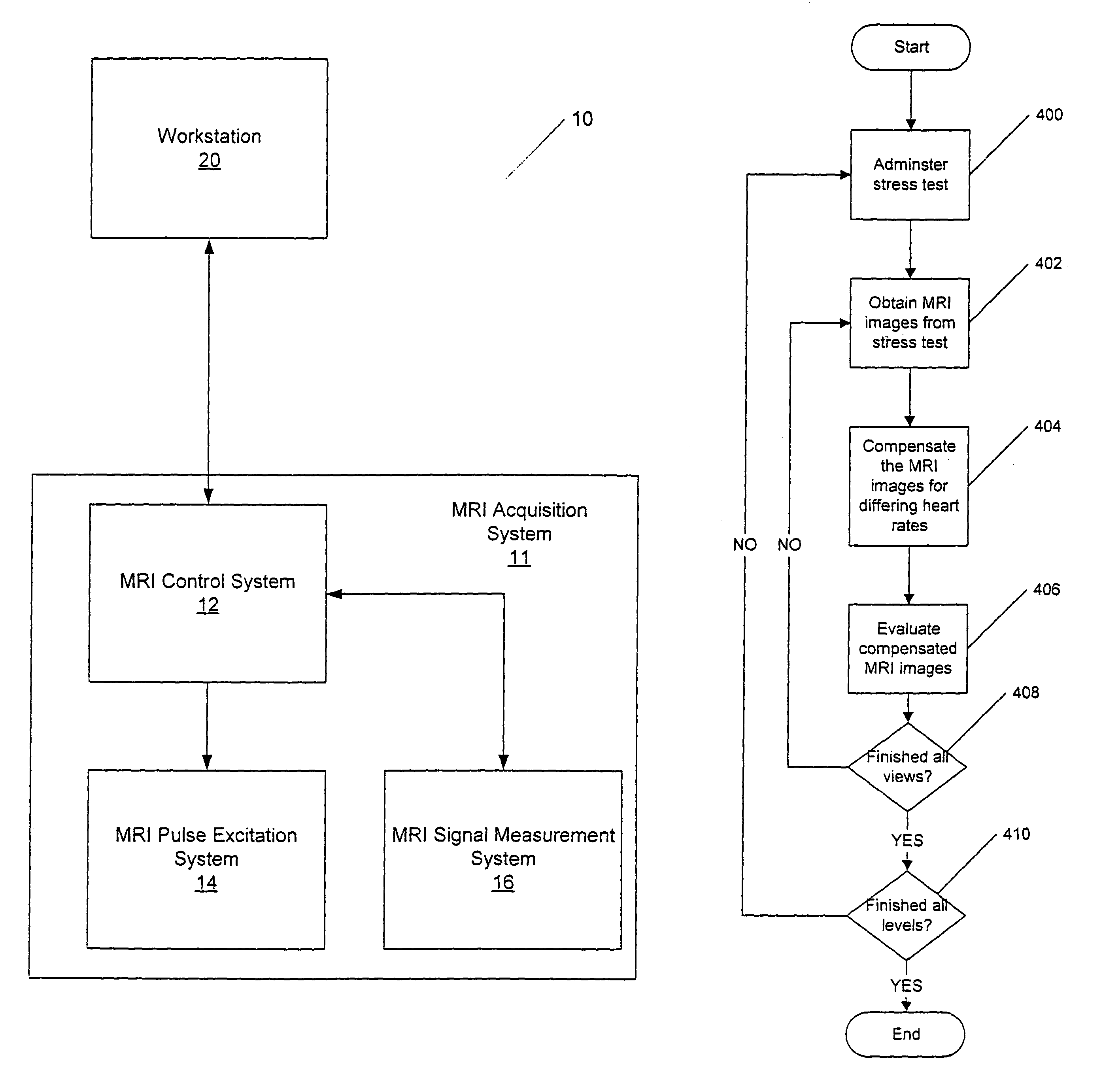
标题:
Cardiac diagnostics using time compensated stress test cardiac MRI imaging and systems for cardiac diagnostics
授权日:
2013-07-23
公开(公告)号:
US8494611
申请日:
2003-07-29
公开(公告)日:
2013-07-23
当前申请(专利权)人:
WAKE FOREST UNIVERSITY HEALTH SCIENCES
发明人:
HAMILTON, CRAIG A. | HUNDLEY, WILLIAM GREGORY
简单同族:
AU2003259282A1 | AU2003259282A8 | US20040024306A1 | US8494611 | WO2004010849A2 | WO2004010849A3
简单同族成员数量:
6
简单同族被引用专利总数:
10
诉讼案件数:
0
法律状态/事件:
授权 | 权利转移