标题:
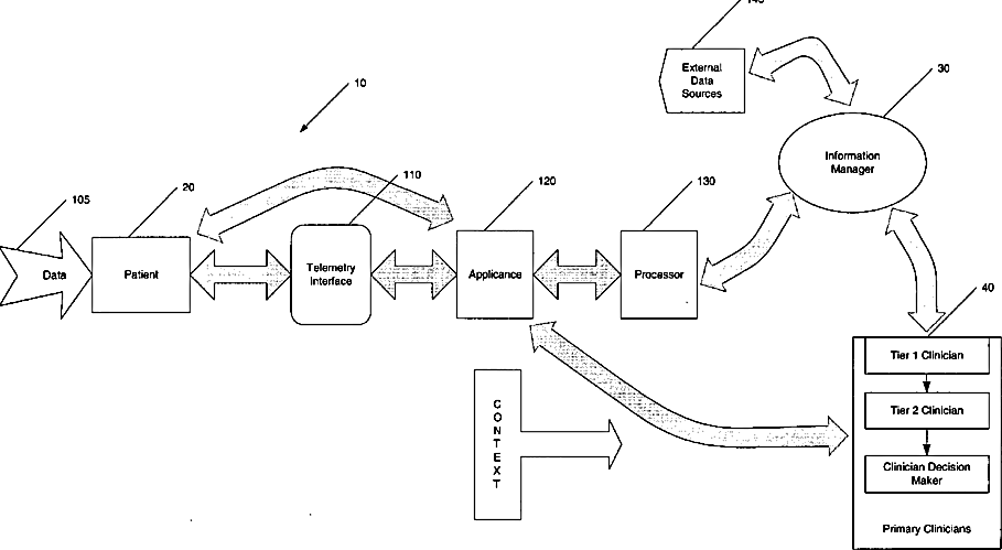
Patient management network
授权日:
1900-01-01
公开(公告)号:
US20060122864A1
申请日:
2005-01-20
公开(公告)日:
2006-06-08
当前申请(专利权)人:
MEDTRONIC, INC.
发明人:
GOTTESMAN, JANELL M. | MARKOWITZ, H. TOBY | WILLENBRING, JAMES E. | MANRODT, CHRISTOPHER M. | VAN DANACKER, JOHN P. | BURNES, JOHN E. | RUETER, JOHN C. | DVORAK, DAVID P. | AUDET, SARAH A. | CARNEY, JAMES K. | HILL, GERARD J.
简单同族:
EP1828944A2 | US20060122864A1 | WO2006060806A2 | WO2006060806A3
简单同族成员数量:
4
简单同族被引用专利总数:
125
诉讼案件数:
0
法律状态/事件:
撤回 | 权利转移