首页
专利数据库
产业人才
行业动态
产业政策法规
维权援助
个人中心
登录/注册
详情
文本
图像
标题:
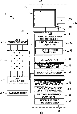
Light measurement device
授权日:
2015-09-08
公开(公告)号:
US9125626
申请日:
2010-01-12
公开(公告)日:
2015-09-08
当前申请(专利权)人:
SHIMADZU CORPORATION
发明人:
KOHNO, SATORU
简单同族:
CN102281821A | JP5447396B2 | JPWO2010087223A1 | US20110275914A1 | US9125626 | WO2010087223A1
简单同族成员数量:
6
简单同族被引用专利总数:
9
诉讼案件数:
0
法律状态/事件:
未缴年费 | 权利转移