首页
专利数据库
产业人才
行业动态
产业政策法规
维权援助
个人中心
登录/注册
详情
文本
图像
标题:
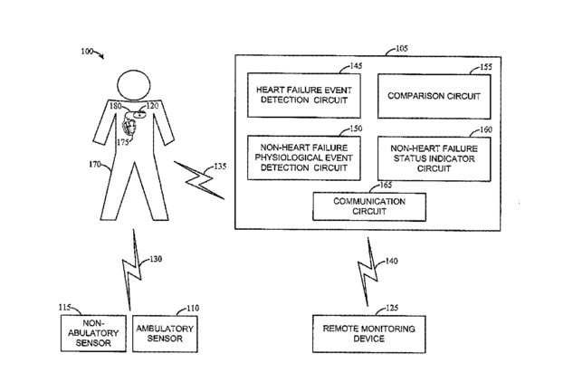
Systems and methods to indicate heart failure co-morbidity
授权日:
2018-06-05
公开(公告)号:
US9986918
申请日:
2012-02-29
公开(公告)日:
2018-06-05
当前申请(专利权)人:
CARDIAC PACEMAKERS, INC.
发明人:
SWEENEY, ROBERT J.
简单同族:
US20120238886A1 | US9986918
简单同族成员数量:
2
简单同族被引用专利总数:
0
诉讼案件数:
0
法律状态/事件:
授权 | 权利转移