标题:
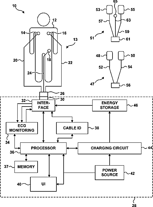
Electrocardiogram Monitoring
授权日:
1900-01-01
公开(公告)号:
US20080027338A1
申请日:
2007-02-26
公开(公告)日:
2008-01-31
当前申请(专利权)人:
PHYSIO-CONTROL, INC.
发明人:
LU, ZHONG QUN | NOVA, RICHARD C. | TAMURA, PAUL S. | DEBARDI, GARY A. | TECKLENBURG, DAVID W. | HART, TYLER R. | NEUMILLER, JAMES S. | CARDIN, RICHARD J.
简单同族:
US20080027338A1 | US20130041421A1 | US20160045752A1 | US20170368362A1 | US8315693 | US9198593 | US9757578
简单同族成员数量:
7
简单同族被引用专利总数:
82
诉讼案件数:
0
法律状态/事件:
授权 | 质押 | 权利转移