标题:
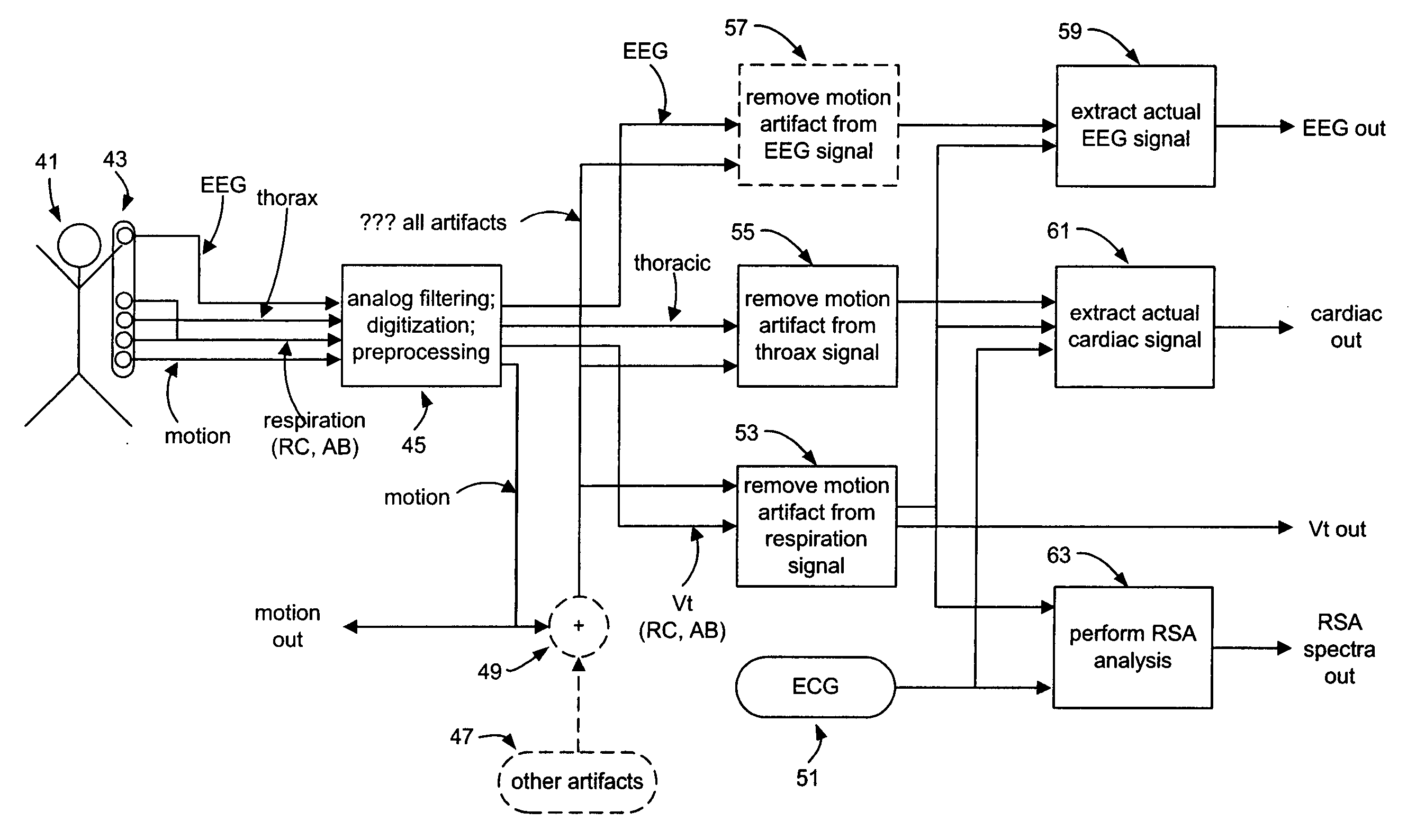
Method and system for processing data from ambulatory physiological monitoring
授权日:
1900-01-01
公开(公告)号:
US20050240087A1
申请日:
2004-11-18
公开(公告)日:
2005-10-27
当前申请(专利权)人:
ADIDAS AG
发明人:
KEENAN, DESMOND B. | COYLE, MICHAEL
简单同族:
AU2004290588A1 | CA2545881A1 | CA2545881C | CA2842420A1 | CA2842420C | EP1684626A2 | EP1684626A4 | EP1684626B1 | EP2508123A1 | EP2508123B1 | EP2508124A2 | EP2508124A3 | JP2007521852A | JP2007521852A5 | JP2011156376A | JP5466351B2 | JP5529796B2 | US20050240087A1 | US20120184826A1 | US20160183881A1 | US8137270 | US9277871 | WO2005048824A2 | WO2005048824A3 | WO2005048824A8
简单同族成员数量:
25
简单同族被引用专利总数:
371
诉讼案件数:
0
法律状态/事件:
授权 | 权利转移