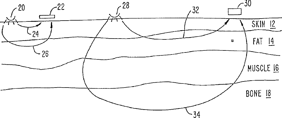
标题:
Pulse oximeter and sensor optimized for low saturation
授权日:
1900-01-01
公开(公告)号:
US20020082489A1
申请日:
2001-06-14
公开(公告)日:
2002-06-27
当前申请(专利权)人:
NELLCOR INCORPORATED
发明人:
CASCIANI, JAMES R. | MANNHEIMER, PAUL D. | NIERLICH, STEVE L. | RUSKEWICZ, STEPHEN J.
简单同族:
US20020082489A1 | US20040204639A1 | US20060189862A1 | US20060195026A1 | US20060195027A1 | US20060211929A1 | US20070156039A1 | US6662033 | US7349726 | US7376454 | US7415298
简单同族成员数量:
11
简单同族被引用专利总数:
282
诉讼案件数:
0
法律状态/事件:
未缴年费