首页
专利数据库
产业人才
行业动态
产业政策法规
维权援助
个人中心
登录/注册
详情
文本
图像
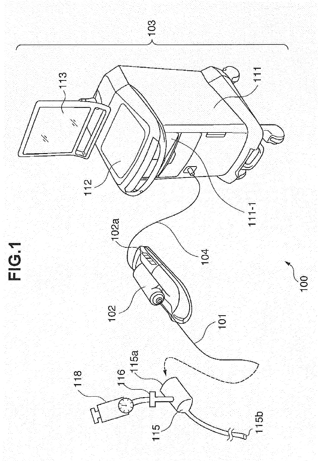
标题:
Optical coherent tomographic image forming apparatus
授权日:
2020-04-22
公开(公告)号:
EP2505129B1
申请日:
2012-03-26
公开(公告)日:
2020-04-22
当前申请(专利权)人:
TERUMO KABUSHIKI KAISHA
发明人:
FURUICHI, JUNYA
简单同族:
EP2505129A1 | EP2505129B1 | JP2012210381A | JP5689728B2 | US20120253185A1 | US9033890
简单同族成员数量:
6
简单同族被引用专利总数:
9
诉讼案件数:
0
法律状态/事件:
授权