首页
专利数据库
产业人才
行业动态
产业政策法规
维权援助
个人中心
登录/注册
详情
文本
图像
标题:
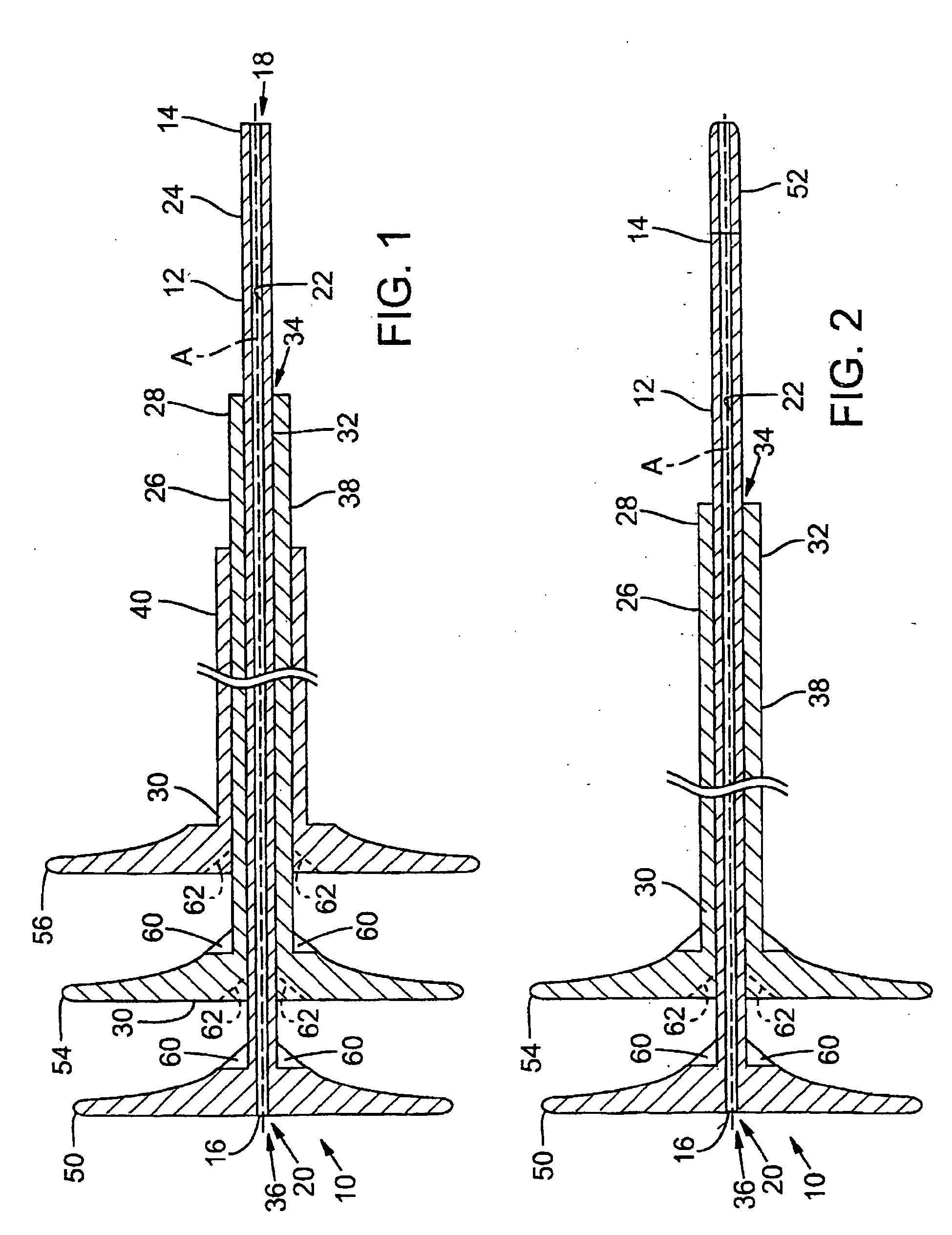
Catheter guidewire system using concentric wires
授权日:
2011-10-26
公开(公告)号:
EP1660152B1
申请日:
2004-08-26
公开(公告)日:
2011-10-26
当前申请(专利权)人:
HEUSER, RICHARD R.
发明人:
HEUSER, RICHARD R.
简单同族:
AT530217T | EP1660152A2 | EP1660152A4 | EP1660152B1 | US20060047222A1 | US7402141 | WO2005021062A2 | WO2005021062A3
简单同族成员数量:
8
简单同族被引用专利总数:
70
诉讼案件数:
0
法律状态/事件:
授权 | 权利转移