标题:
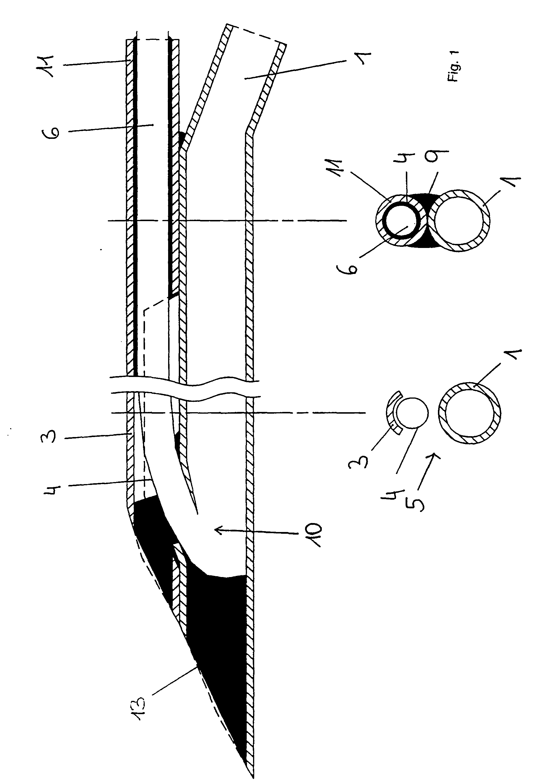
Microdialysis probe
授权日:
2005-11-09
公开(公告)号:
EP1206294B1
申请日:
2000-07-18
公开(公告)日:
2005-11-09
当前申请(专利权)人:
DISETRONIC LICENSING AG
发明人:
EHWALD, RUDOLF | BEYER, UWE | THOMAS, ANDREAS
简单同族:
AT309011T | AU2000056697A1 | DE19937099A1 | DE19937099C2 | DE50011578D1 | EP1206294A1 | EP1206294B1 | ES2249275T3 | JP2003506159A | JP4527920B2 | US20020087145A1 | US20060264812A1 | US20110066103A1 | US7008398 | US7918818 | US8235936 | WO2001010483A1
简单同族成员数量:
17
简单同族被引用专利总数:
79
诉讼案件数:
0
法律状态/事件:
授权 | 权利转移