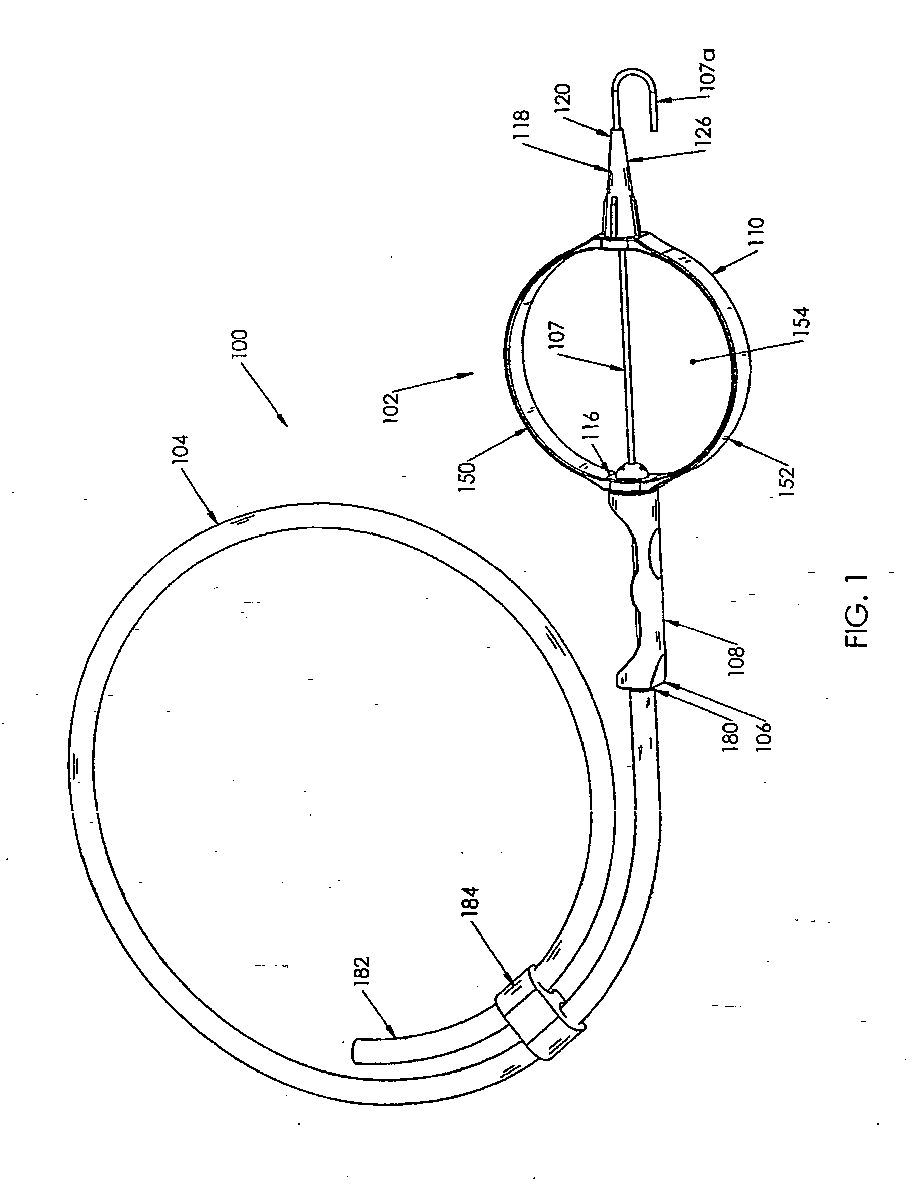
标题:
Guide wire advancer assembly
授权日:
2010-10-27
公开(公告)号:
EP1845872B1
申请日:
2006-02-01
公开(公告)日:
2010-10-27
当前申请(专利权)人:
MEDICAL COMPONENTS, INC. | RAULERSON, J. DANIEL | SCHWEIKERT, TIMOTHY M.
发明人:
RAULERSON, J. DANIEL | SCHWEIKERT, TIMOTHY M.
简单同族:
AT485760T | CA2596538A1 | CA2596538C | DE602006017804D1 | EP1845872A2 | EP1845872A4 | EP1845872B1 | JP2008528241A | JP2008528241A5 | JP5005548B2 | US20070043307A1 | US20100331732A1 | US7857770 | US8454536 | WO2006096262A2 | WO2006096262A3
简单同族成员数量:
16
简单同族被引用专利总数:
66
诉讼案件数:
0
法律状态/事件:
授权