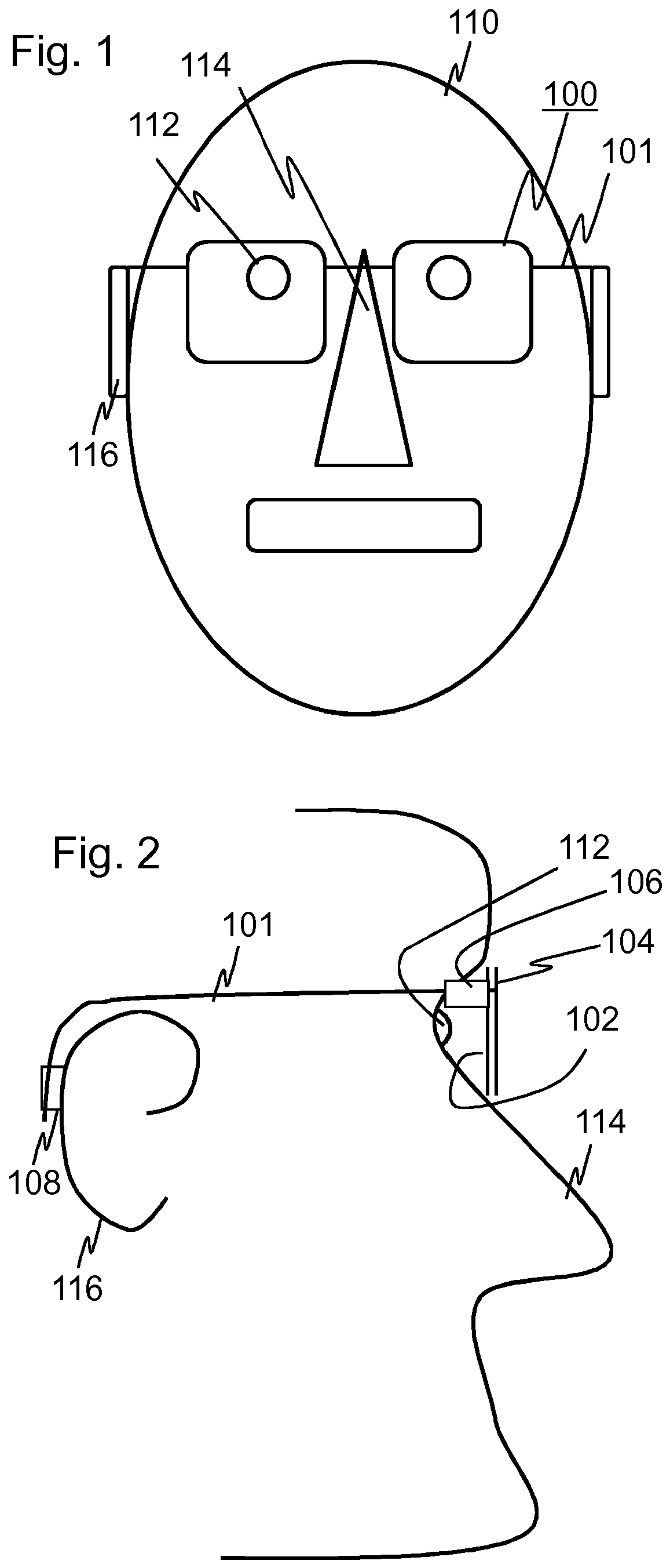
标题:
Capacitive eye tracking sensor
授权日:
2019-08-14
公开(公告)号:
EP2806782B1
申请日:
2012-01-26
公开(公告)日:
2019-08-14
当前申请(专利权)人:
NOKIA TECHNOLOGIES OY
发明人:
BERGMAN, JANNE | SAUKKO, JARI | UUSITALO, JUSSI SEVERI
简单同族:
CN104066371A | CN104066371B | EP2806782A1 | EP2806782A4 | EP2806782B1 | US20150015847A1 | US9414746 | WO2013110846A1
简单同族成员数量:
8
简单同族被引用专利总数:
156
诉讼案件数:
0
法律状态/事件:
授权 | 权利转移