首页
专利数据库
产业人才
行业动态
产业政策法规
维权援助
个人中心
登录/注册
详情
文本
图像
标题:
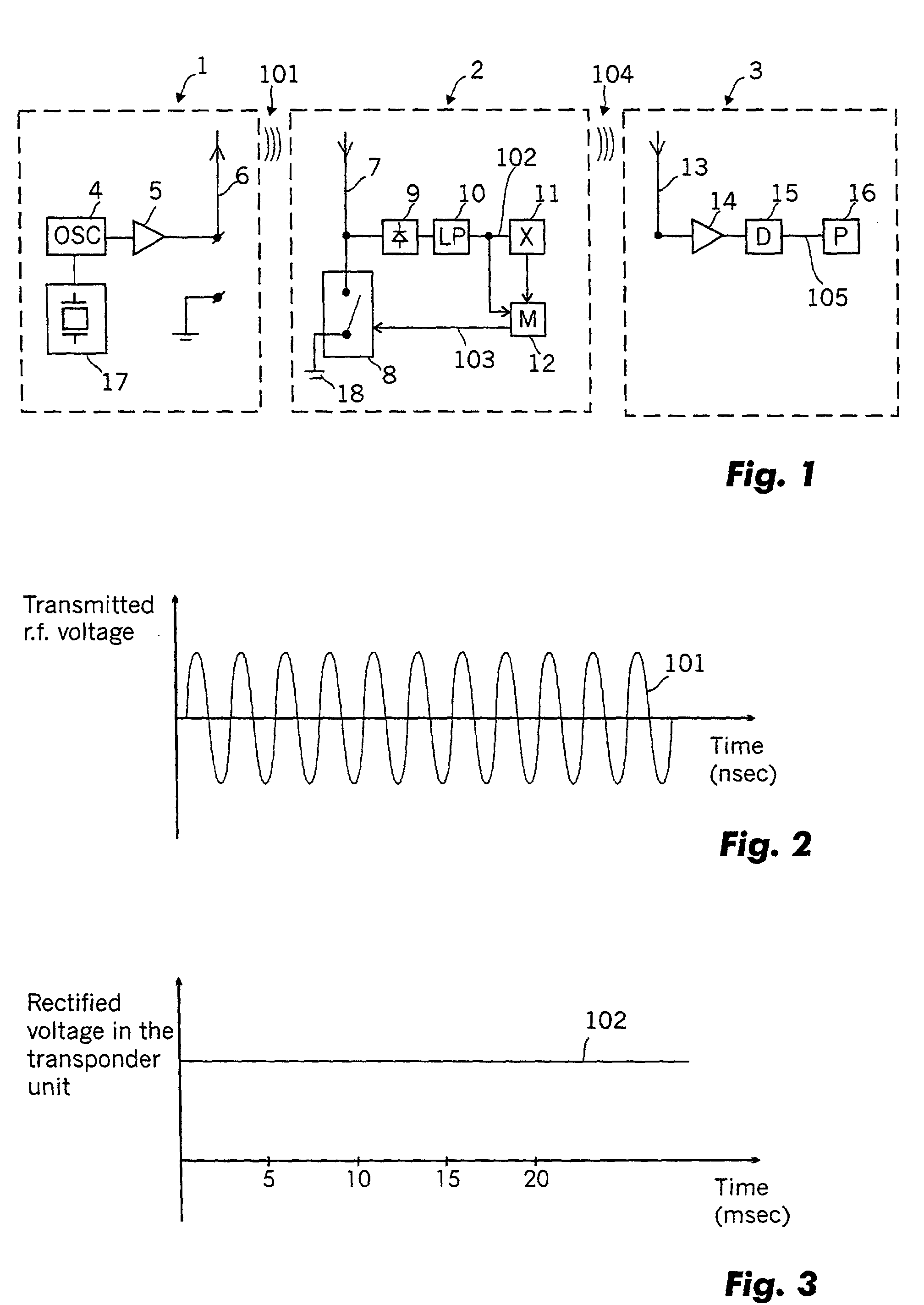
Passive biotelemetry
授权日:
2004-11-10
公开(公告)号:
EP1136033B1
申请日:
2000-03-21
公开(公告)日:
2004-11-10
当前申请(专利权)人:
RADI MEDICAL SYSTEMS AB
发明人:
HÖK, BERTIL
简单同族:
AT281785T | DE60015721D1 | DE60015721T2 | EP1136033A1 | EP1136033B1 | ES2232412T3 | US20010045899A1 | US6692446
简单同族成员数量:
8
简单同族被引用专利总数:
154
诉讼案件数:
0
法律状态/事件:
期限届满