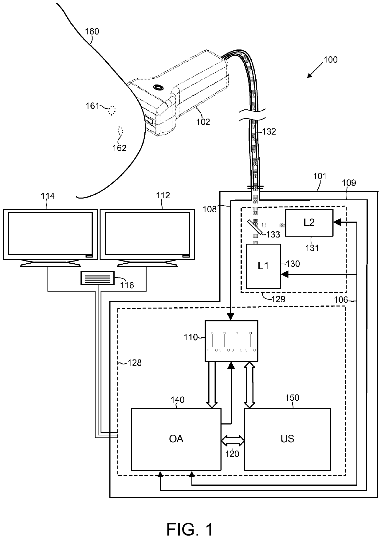
标题:
Probe with optoacoustic isolator
授权日:
2019-04-10
公开(公告)号:
EP2948064B1
申请日:
2014-01-22
公开(公告)日:
2019-04-10
当前申请(专利权)人:
SENO MEDICAL INSTRUMENTS, INC.
发明人:
ACKERMAN, WILLIAM | HERZOG, DONALD | CASAS, JUSTIN
简单同族:
AU2014209521A1 | AU2014209521B2 | CA2899007A1 | EP2948064A1 | EP2948064A4 | EP2948064B1 | IL240086D0 | JP2016508395A | JP2018183614A | JP6391593B2 | JP6600717B2 | KR1020150110560A | MX2015009475A | SG11201505691SA | US20140206978A1 | WO2014116705A1
简单同族成员数量:
16
简单同族被引用专利总数:
15
诉讼案件数:
0
法律状态/事件:
授权