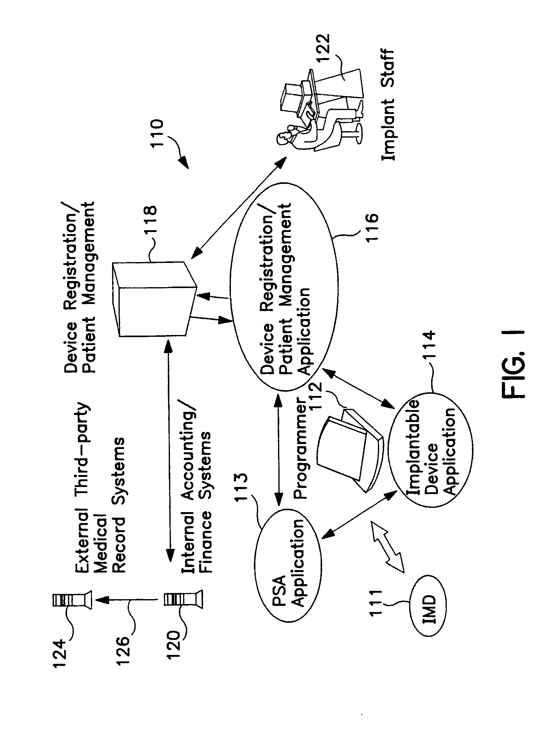
标题:
Integrated software system for implantable medical device installation and management
授权日:
2006-10-18
公开(公告)号:
EP1241982B1
申请日:
2000-12-19
公开(公告)日:
2006-10-18
当前申请(专利权)人:
MEDTRONIC, INC.
发明人:
MERRY, RANDY, L. | HODGES, ANDREW, C. | LINBERG, KURT, R.
简单同族:
DE60031440D1 | DE60031440T2 | EP1241982A2 | EP1241982B1 | WO2001047410A2 | WO2001047410A3 | WO2001047410B1
简单同族成员数量:
7
简单同族被引用专利总数:
13
诉讼案件数:
0
法律状态/事件:
权利终止 | 权利转移