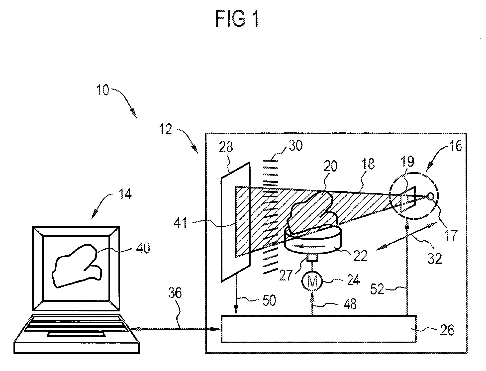
标题:
System and method for three dimensional reconstruction of an anatomical impression
授权日:
2014-04-02
公开(公告)号:
EP2270423B1
申请日:
2009-06-26
公开(公告)日:
2014-04-02
当前申请(专利权)人:
SIEMENS MEDICAL INSTRUMENTS PTE. LTD.
发明人:
KAGERMEIER, ROBERT | PRITSCHING, VOLKER
简单同族:
DK2270423T3 | EP2270423A1 | EP2270423B1 | US20100328678A1 | US8437009
简单同族成员数量:
5
简单同族被引用专利总数:
7
诉讼案件数:
0
法律状态/事件:
授权