首页
专利数据库
产业人才
行业动态
产业政策法规
维权援助
个人中心
登录/注册
详情
文本
图像
标题:
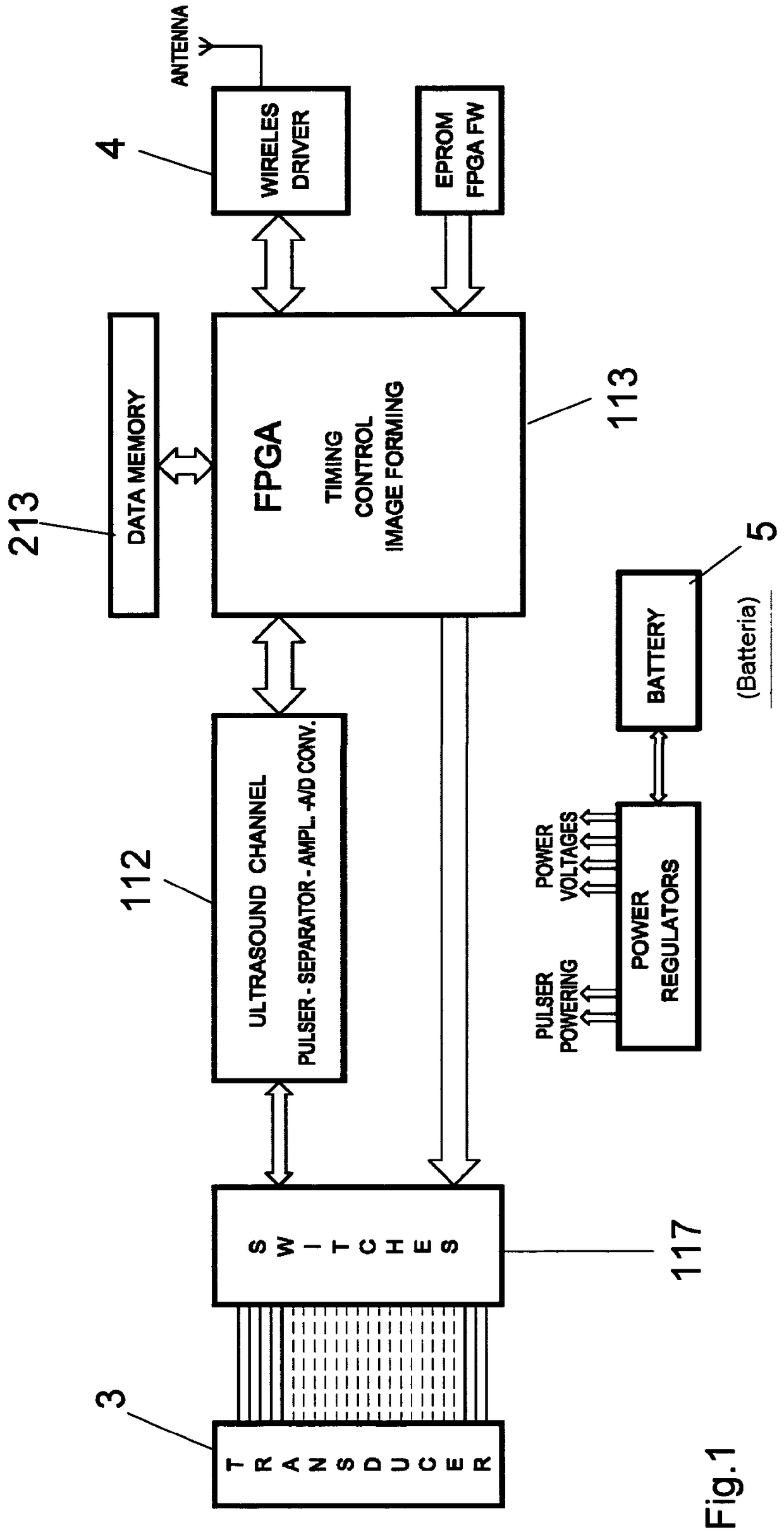
A method and an apparatus for ultrasound image acquisition
授权日:
2017-11-15
公开(公告)号:
EP2568883B1
申请日:
2011-05-05
公开(公告)日:
2017-11-15
当前申请(专利权)人:
ESAOTE S.P.A.
发明人:
CEROFOLINI, MARINO
简单同族:
EP2568883A2 | EP2568883B1 | US20130064037A1 | US8717843 | WO2011138758A2 | WO2011138758A3
简单同族成员数量:
6
简单同族被引用专利总数:
16
诉讼案件数:
0
法律状态/事件:
授权 | 权利转移