首页
专利数据库
产业人才
行业动态
产业政策法规
维权援助
个人中心
登录/注册
详情
文本
图像
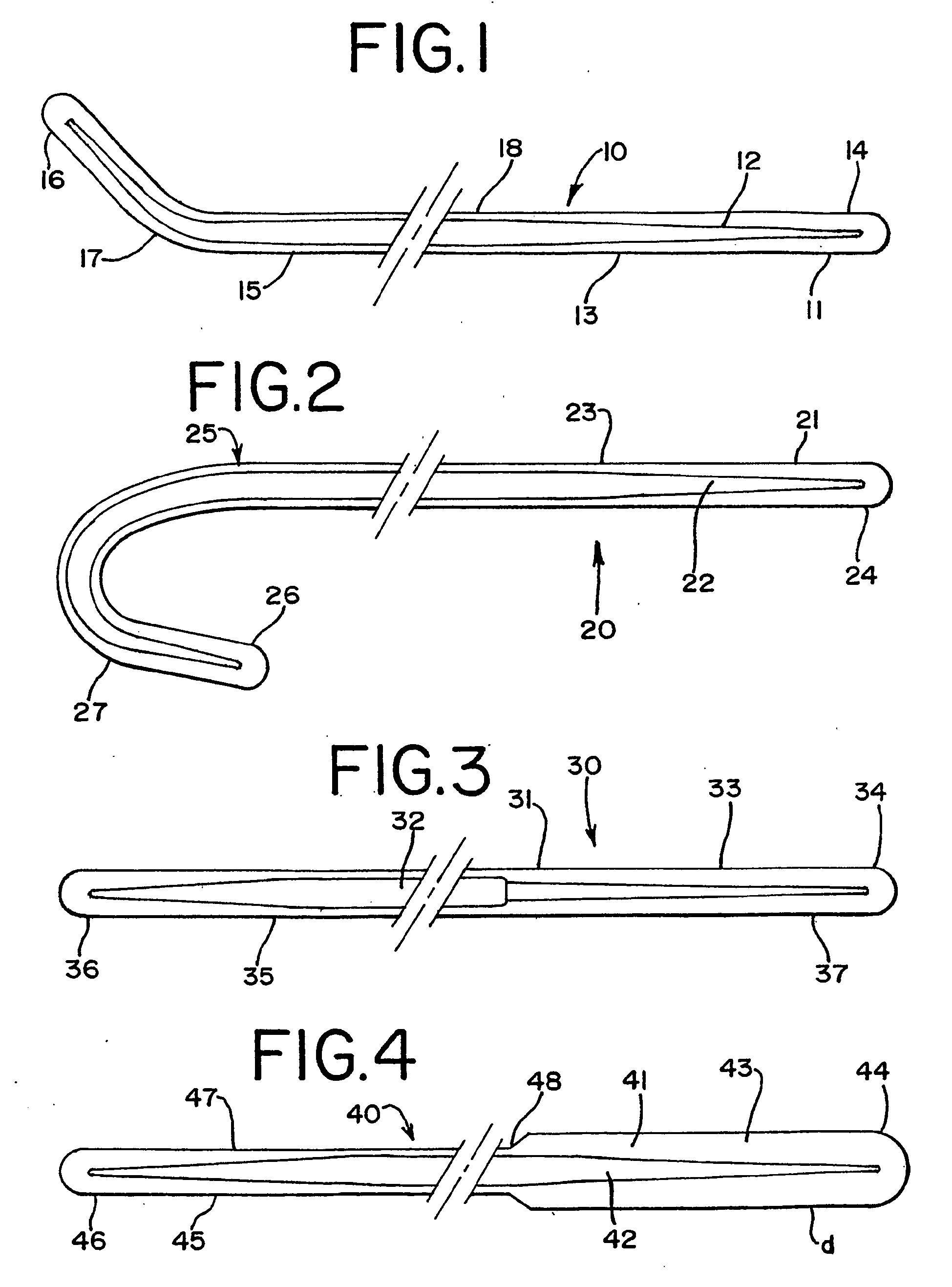
标题:
Double ended wire guide
授权日:
2008-12-10
公开(公告)号:
EP1660168B1
申请日:
2004-09-03
公开(公告)日:
2008-12-10
当前申请(专利权)人:
COOK UROLOGICAL INC.
发明人:
RYAN, WALTER, N. | FISCHER, FRANK, J. | FOSTER, THOMAS, L. | BUTLER, GARY, L.
简单同族:
DE602004018331D1 | EP1660168A1 | EP1660168B1 | US20050054953A1 | US7621880 | WO2005025660A1
简单同族成员数量:
6
简单同族被引用专利总数:
80
诉讼案件数:
0
法律状态/事件:
授权