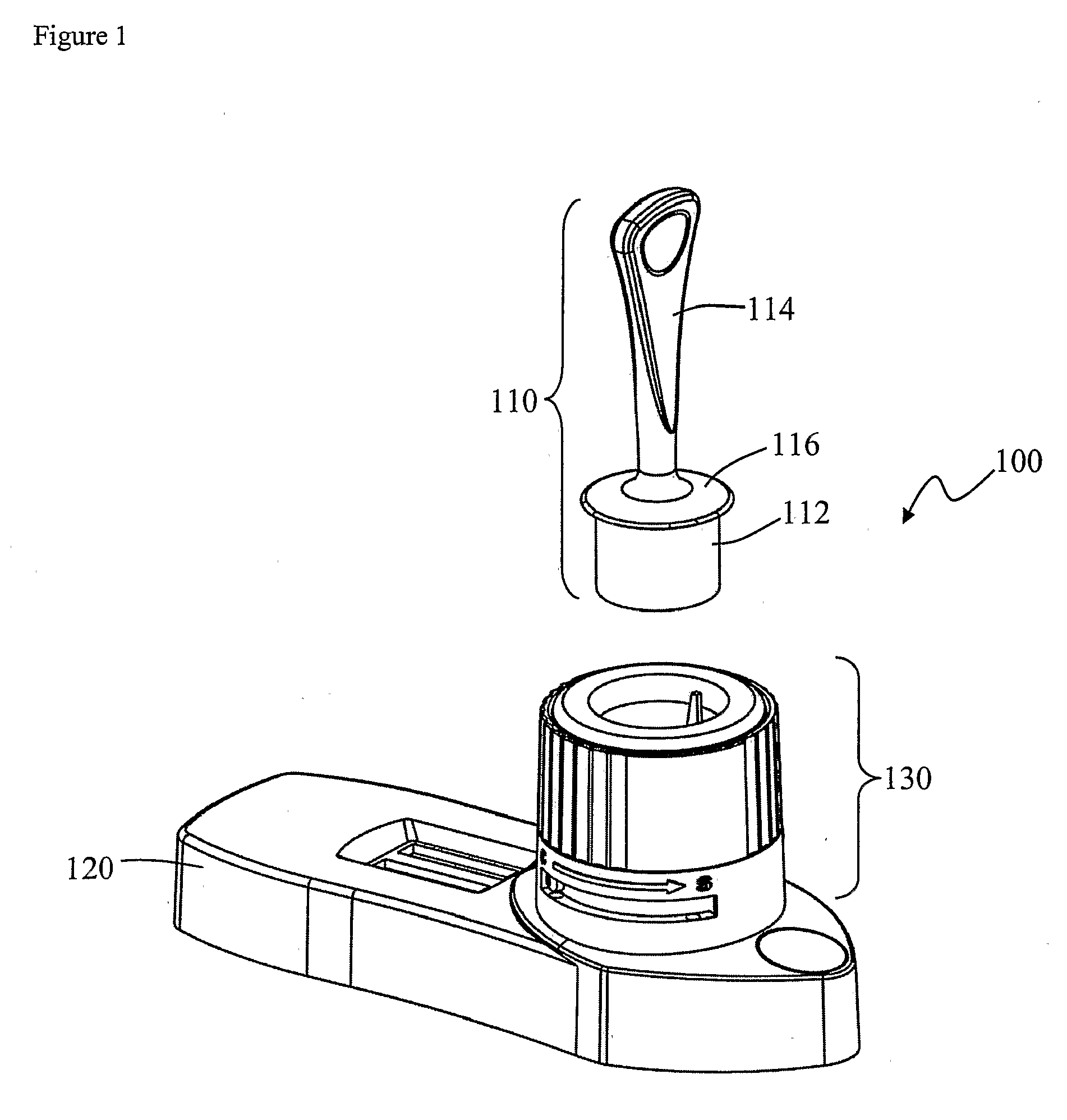
标题:
Rapid sample analysis and storage devices and methods of use
授权日:
2016-01-06
公开(公告)号:
EP1692501B1
申请日:
2004-11-15
公开(公告)日:
2016-01-06
当前申请(专利权)人:
ALERE SWITZERLAND GMBH
发明人:
TUNG, HSIAOHO, EDWARD | WU, YUZHANG | DAI, JIELIN | YANG, YING
简单同族:
AT497163T | AU2004291919A1 | AU2004291919B2 | AU2004291920A1 | AU2004291920B2 | AU2004291921A1 | AU2004291921B2 | CA2545056A1 | CA2545056C | CA2545125A1 | CA2545215A1 | CN100538326C | CN100594381C | CN101832885A | CN101876657A | CN101876657B | CN1882835A | CN1882835B | CN1882836A | CN1954203A | DE212004000059U1 | DE212004000060U1 | DE212004000061U1 | DE602004031253D1 | EP1687608A2 | EP1687608A4 | EP1687628A2 | EP1687628A4 | EP1687628B1 | EP1692501A2 | EP1692501A4 | EP1692501B1 | HK1095378A | HK1095378A1 | HK1095379A | HK1095379A1 | HK1095380A | IL175625A | IL175625D0 | IL175626D0 | IL175627A | IL175627D0 | JP2007511767A | JP2007511768A | JP2007511769A | JP4253344B2 | JP4810434B2 | JP4889498B2 | NZ547173A | NZ547173B | NZ547174A | NZ547174B | NZ547177A | NZ547177B | US20050119589A1 | US20050180882A1 | US20050202568A1 | US20090117665A1 | US7544324 | US7837939 | WO2005050165A2 | WO2005050165A3 | WO2005050166A2 | WO2005050166A3 | WO2005050167A2 | WO2005050167A3
简单同族成员数量:
66
简单同族被引用专利总数:
237
诉讼案件数:
0
法律状态/事件:
授权 | 权利转移