首页
专利数据库
产业人才
行业动态
产业政策法规
维权援助
个人中心
登录/注册
详情
文本
图像
标题:
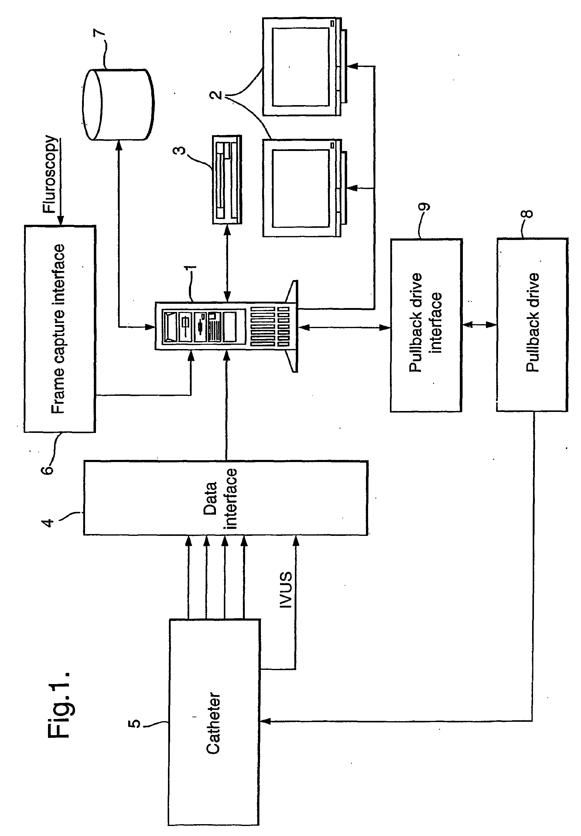
A catheter
授权日:
2009-08-19
公开(公告)号:
EP1480703B1
申请日:
2003-03-04
公开(公告)日:
2009-08-19
当前申请(专利权)人:
THERMOCORE MEDICAL SYSTEMS N.V.
发明人:
DIAMANTOPOULOS, LEONIDAS
简单同族:
AT439886T | AU2003212224A1 | CA2477305A1 | DE60328869D1 | EP1480703A1 | EP1480703B1 | GB0205109D0 | JP2005518878A | US20050148903A1 | WO2003074114A1
简单同族成员数量:
10
简单同族被引用专利总数:
16
诉讼案件数:
0
法律状态/事件:
权利终止