首页
专利数据库
产业人才
行业动态
产业政策法规
维权援助
个人中心
登录/注册
详情
文本
图像
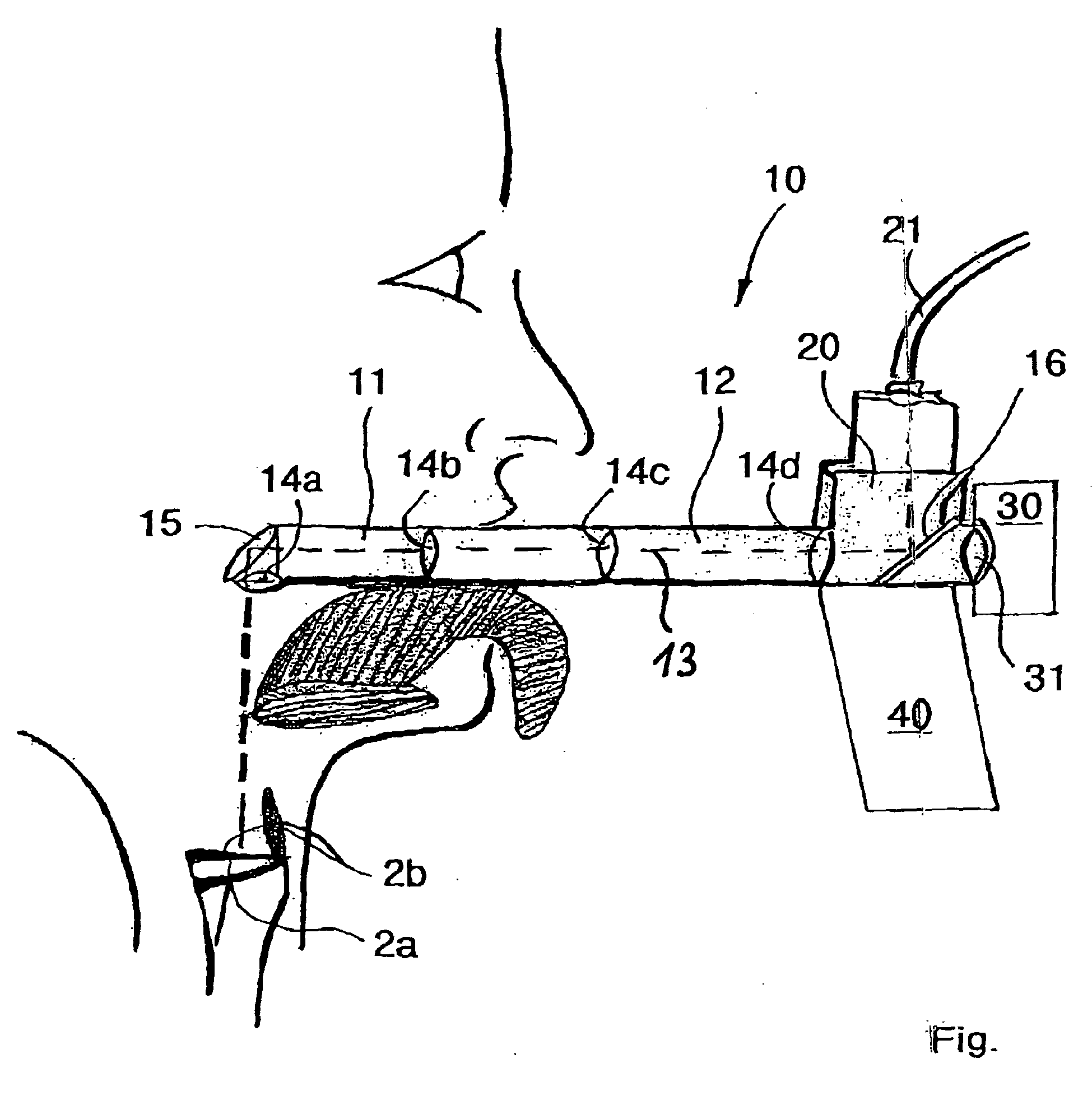
标题:
Larygoscope with OCT
授权日:
1900-01-01
公开(公告)号:
EP1618836A1
申请日:
2005-07-21
公开(公告)日:
2006-01-25
当前申请(专利权)人:
ROWIAK GMBH
发明人:
LÜERSSEN, KATHRIN, DR. MED. | LUBATSCHOWSKI, HOLGER, DR.
简单同族:
AT463197T | CA2512769A1 | DE102004035269A1 | DE502005009351D1 | EP1618836A1 | EP1618836B1 | ES2339780T3 | US20060020172A1
简单同族成员数量:
8
简单同族被引用专利总数:
120
诉讼案件数:
0
法律状态/事件:
权利终止