首页
专利数据库
产业人才
行业动态
产业政策法规
维权援助
个人中心
登录/注册
详情
文本
图像
标题:
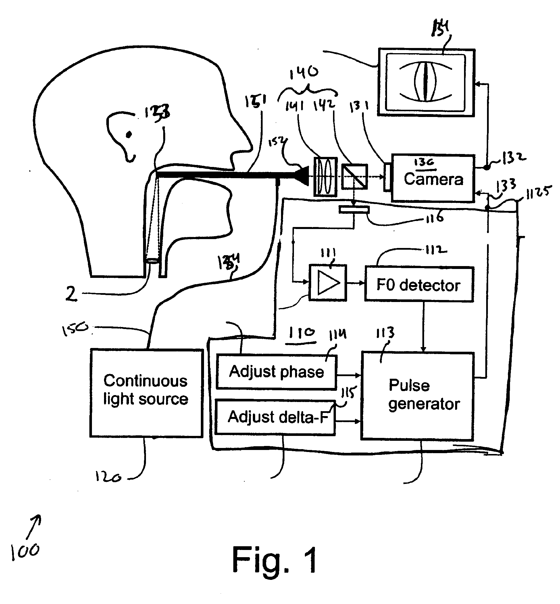
Optical triggering system for stroboscope system, and method
授权日:
2011-07-20
公开(公告)号:
EP2020902B1
申请日:
2007-05-29
公开(公告)日:
2011-07-20
当前申请(专利权)人:
CYMO B.V.
发明人:
QIU, QINGJUN | SCHUTTE, HARM KORNELIS | VAN GEEST, LAMBERTUS KAREL
简单同族:
AT516737T | EP1859727A1 | EP2020902A1 | EP2020902B1 | US20090281390A1 | WO2007139381A1
简单同族成员数量:
6
简单同族被引用专利总数:
90
诉讼案件数:
0
法律状态/事件:
授权 | 权利转移