标题:
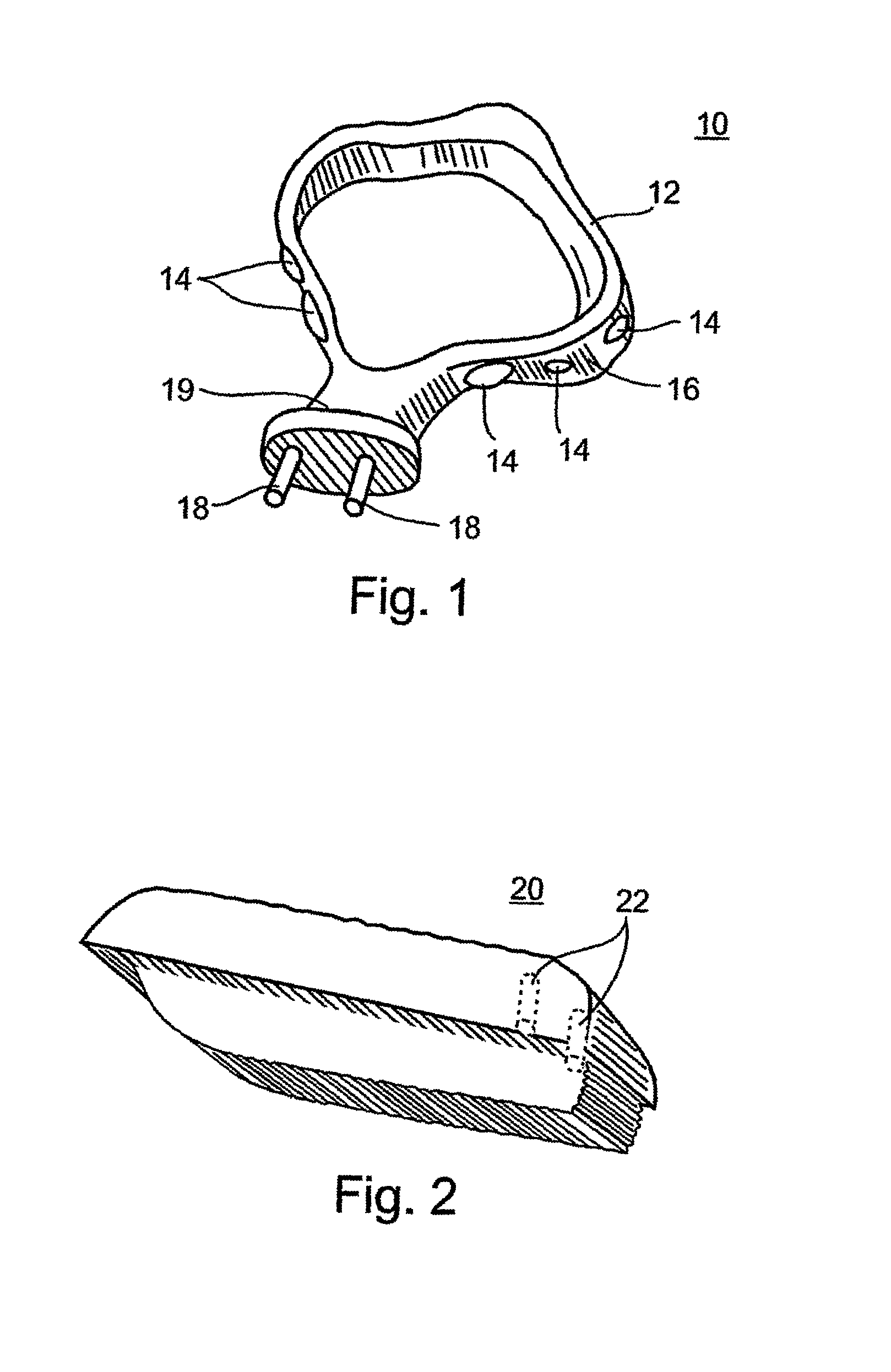
Intravaginal device for electrically stimulating and/or for sensing electrical activity of muscles and/or nerves defining and surrounding the intravaginal cavity
授权日:
2008-03-05
公开(公告)号:
EP1320392B1
申请日:
2001-08-30
公开(公告)日:
2008-03-05
当前申请(专利权)人:
FLEXIPROBE LTD.
发明人:
EINI, MEIR | TAMARKIN, DOV | SARIG, JUDITH | BAUR, ALFONS JOHANNES
简单同族:
AT387918T | AU2001284379A1 | CA2420860A1 | DE60133112D1 | DE60133112T2 | EP1320392A2 | EP1320392A4 | EP1320392B1 | ES2302744T3 | IL154646D0 | US20040030360A1 | US6432037 | WO2002017987A2 | WO2002017987A3
简单同族成员数量:
14
简单同族被引用专利总数:
133
诉讼案件数:
0
法律状态/事件:
授权 | 权利转移