首页
专利数据库
产业人才
行业动态
产业政策法规
维权援助
个人中心
登录/注册
详情
文本
图像
标题:
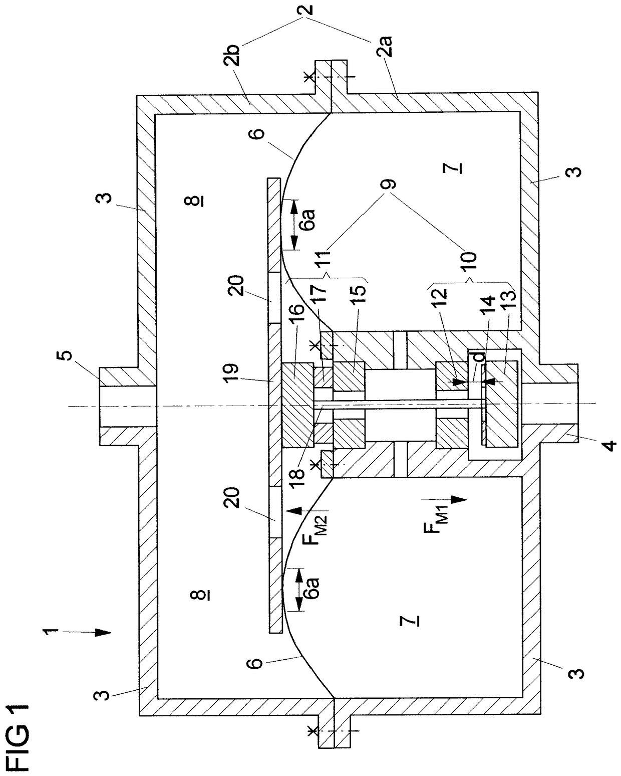
Device, assembly and method for measuring a volume flow of a fluid flowing within a pipe
授权日:
2018-07-11
公开(公告)号:
EP2805739B1
申请日:
2014-05-13
公开(公告)日:
2018-07-11
当前申请(专利权)人:
SPIEGELBERG GMBH & CO. KG
发明人:
DR. STIEGLITZ, LENNART
简单同族:
DE102013209687B3 | EP2805739A1 | EP2805739B1
简单同族成员数量:
3
简单同族被引用专利总数:
0
诉讼案件数:
0
法律状态/事件:
授权 | 权利转移