标题:
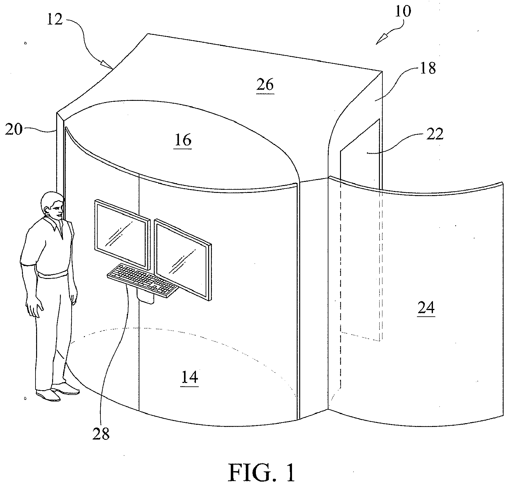
System for automated total body imaging
授权日:
2016-12-21
公开(公告)号:
EP2846682B1
申请日:
2013-02-27
公开(公告)日:
2016-12-21
当前申请(专利权)人:
DERMSPECTRA LLC
发明人:
CURIEL, CLARA | SEYBOULD, KARLEEN | BERTINO, MICHAEL | PATTON, MICHAEL
简单同族:
AU2013260160A1 | AU2013260160B2 | BR112014027937A2 | BR112014027937A8 | CL201403047A1 | EP2846682A1 | EP2846682A4 | EP2846682B1 | EP3195797A1 | EP3195797B1 | NZ702690A | US20130296711A1 | US20180125370A1 | WO2013169326A1
简单同族成员数量:
14
简单同族被引用专利总数:
11
诉讼案件数:
0
法律状态/事件:
授权