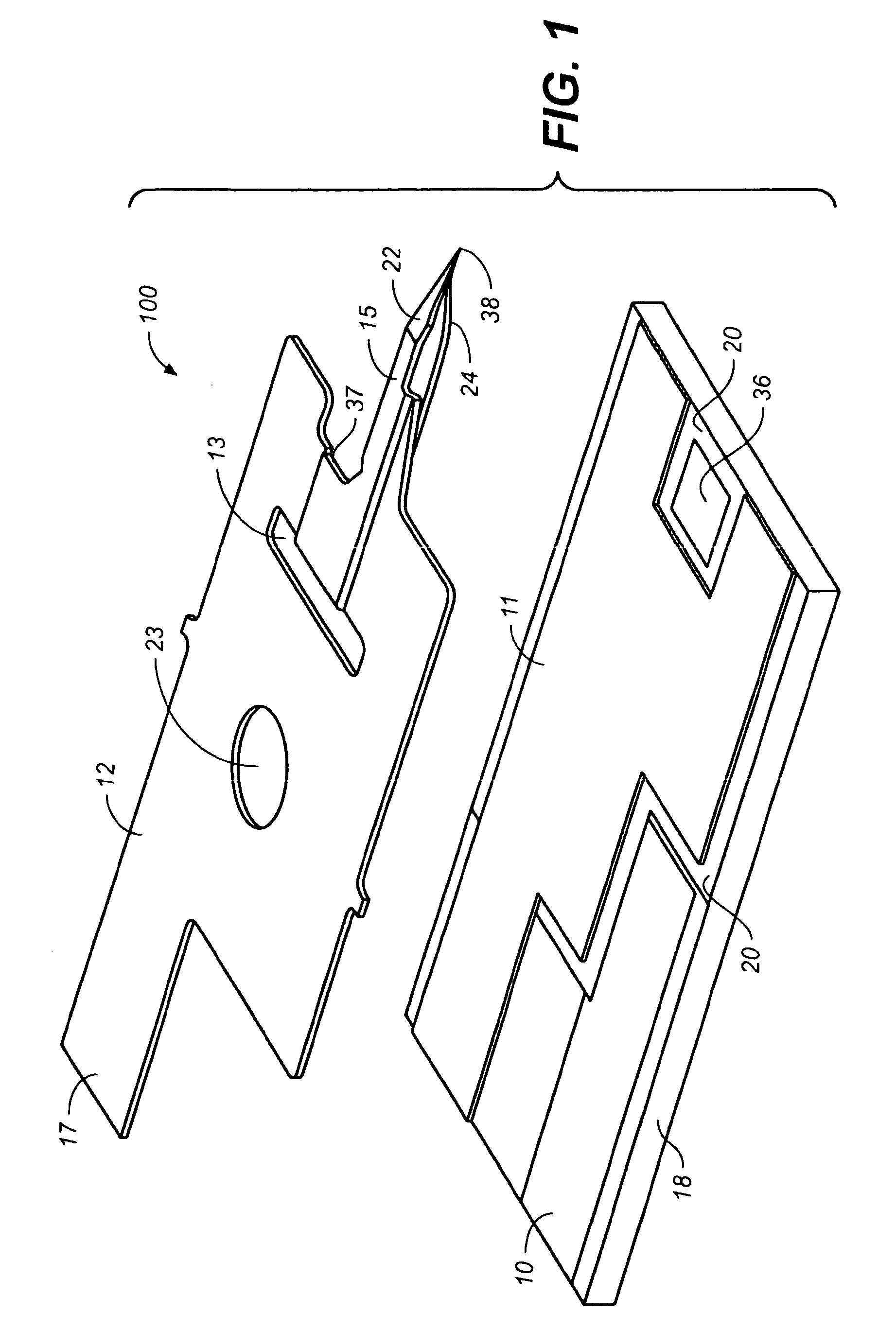
标题:
Integrated lance and strip for analyte measurement
授权日:
2011-04-06
公开(公告)号:
EP1774908B1
申请日:
2006-10-13
公开(公告)日:
2011-04-06
当前申请(专利权)人:
LIFESCAN, INC.
发明人:
ALLEN, JOHN J.
简单同族:
AT504238T | CN1951330A | CN1951330B | DE602006021114D1 | EP1774908A2 | EP1774908A3 | EP1774908B1 | HK1103000A | HK1103000A1 | JP2007105483A | JP4965964B2 | US20060030789A1 | US7473264
简单同族成员数量:
13
简单同族被引用专利总数:
130
诉讼案件数:
0
法律状态/事件:
授权