标题:
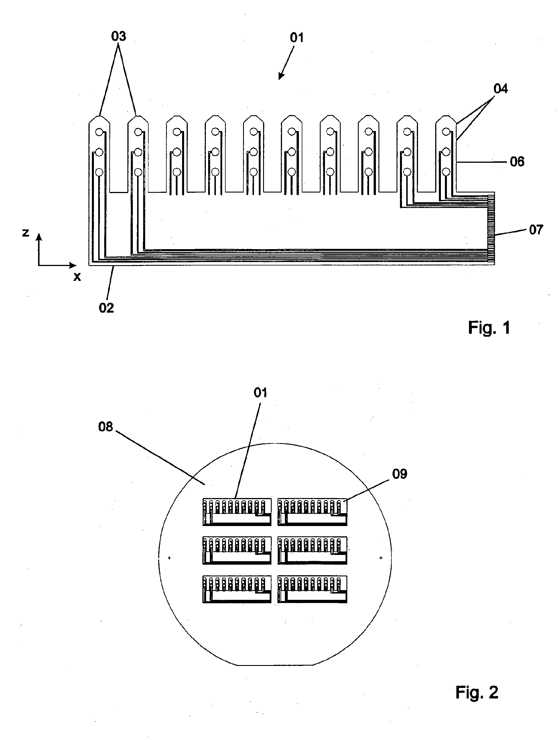
Hybrid three-dimensional sensor array, in particular for measuring electrogenic cell assemblies, and measuring assembly
授权日:
2016-11-30
公开(公告)号:
EP2538838B1
申请日:
2011-02-23
公开(公告)日:
2016-11-30
当前申请(专利权)人:
TECHNISCHE UNIVERSITÄT ILMENAU
发明人:
SCHOBER, ANDREAS | HAMPL, JÖRG | FERNEKORN, UTA | HUSAR, PETER | FISCHER, MICHAEL | LAQUA, DANIEL | LILIENTHAL, KATHARINA
简单同族:
DE102010000565A1 | EP2538838A1 | EP2538838B1 | JP2013520259A | US20120319705A1 | WO2011104250A1
简单同族成员数量:
6
简单同族被引用专利总数:
7
诉讼案件数:
0
法律状态/事件:
授权