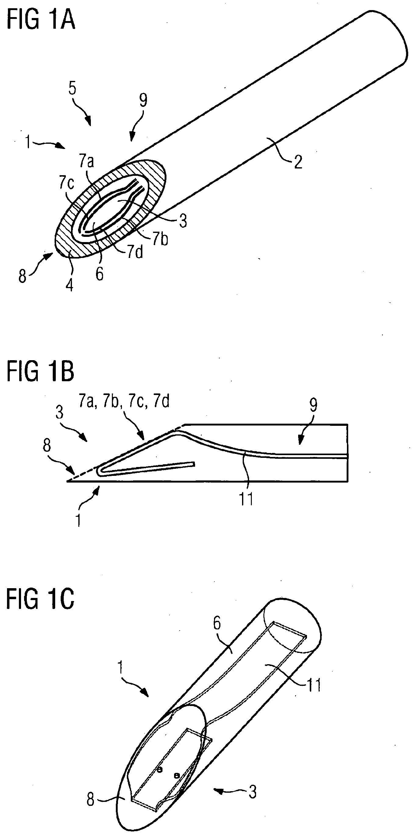
标题:
Arrangement for defining a location within an organism and method for manufacturing a mandrin to be accommodated in a needle
授权日:
2016-02-10
公开(公告)号:
EP2726144B1
申请日:
2012-06-29
公开(公告)日:
2016-02-10
当前申请(专利权)人:
INJEQ OY
发明人:
KRONSTRÖM, KAI | KONTIOLA, ANTTI | PAASSILTA, KATJA | AHONEN, PETRI | HYTTINEN, JARI
简单同族:
EP2726144A1 | EP2726144B1 | FI123246B | FI20115684A | FI20115684A0 | US20140243656A1 | WO2013001510A1
简单同族成员数量:
7
简单同族被引用专利总数:
4
诉讼案件数:
0
法律状态/事件:
授权