首页
专利数据库
产业人才
行业动态
产业政策法规
维权援助
个人中心
登录/注册
详情
文本
图像
标题:
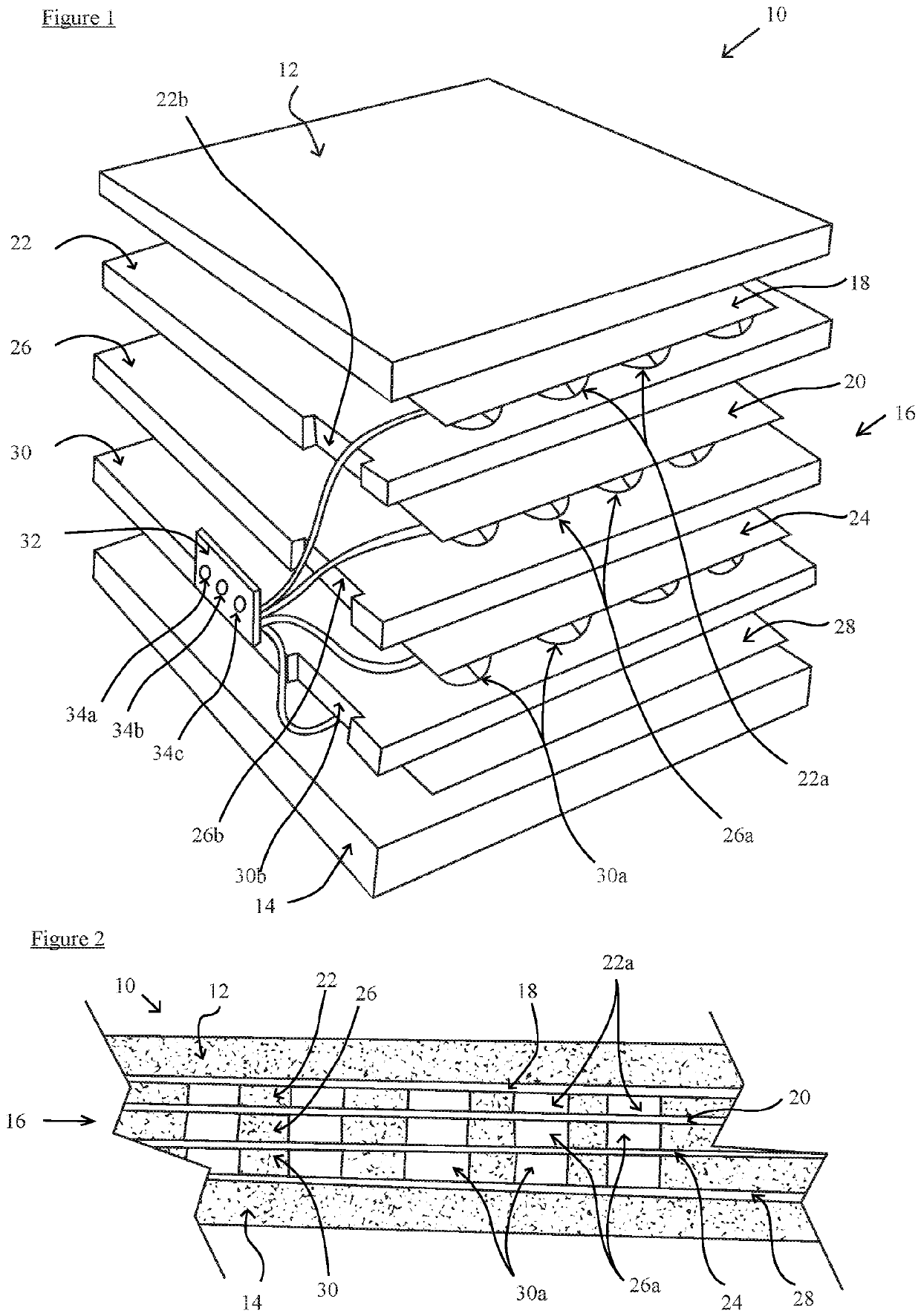
Support evaluation device
授权日:
2019-12-11
公开(公告)号:
EP3416603B1
申请日:
2017-02-08
公开(公告)日:
2019-12-11
当前申请(专利权)人:
THE HELPING HAND COMPANY (LEDBURY) LIMITED
发明人:
JAMES, GAVIN | MOORE, STUART
简单同族:
CN108778220A | EP3416603A1 | EP3416603B1 | GB201602771D0 | GB2549451A | US20190049322A1 | WO2017141010A1
简单同族成员数量:
7
简单同族被引用专利总数:
4
诉讼案件数:
0
法律状态/事件:
授权 | 权利转移