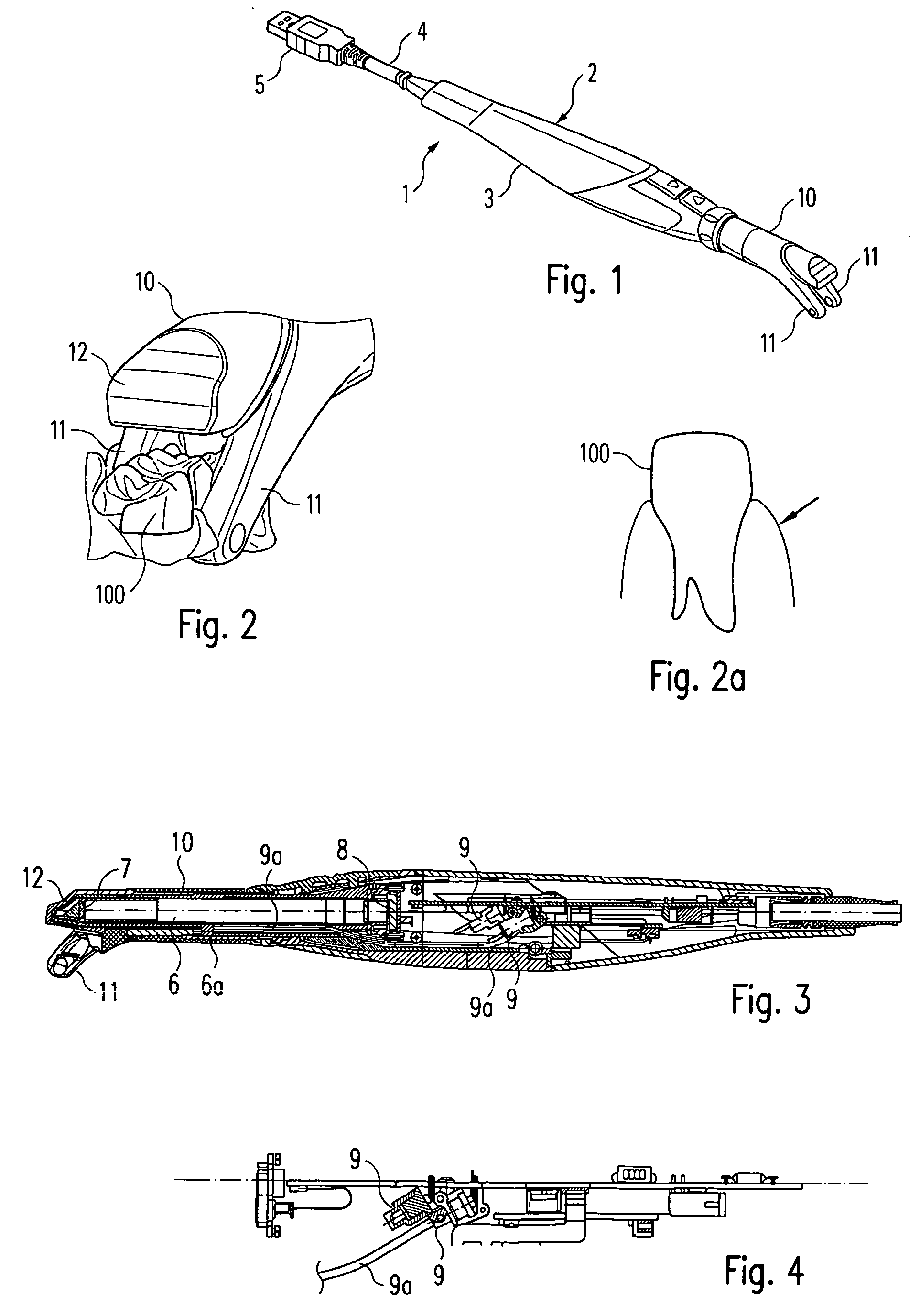
标题:
Dental system for transillumination of teeth
授权日:
2016-09-28
公开(公告)号:
EP2452614B1
申请日:
2011-11-09
公开(公告)日:
2016-09-28
当前申请(专利权)人:
KALTENBACH & VOIGT GMBH
发明人:
HACKEL, ANDRE | HECKENBERGER, HANS | ERDMANN, SVEN
简单同族:
DE102010043792A1 | EP2452614A1 | EP2452614B1 | US20120122053A1 | US20160310009A1 | US9380943 | US9603530
简单同族成员数量:
7
简单同族被引用专利总数:
16
诉讼案件数:
0
法律状态/事件:
授权