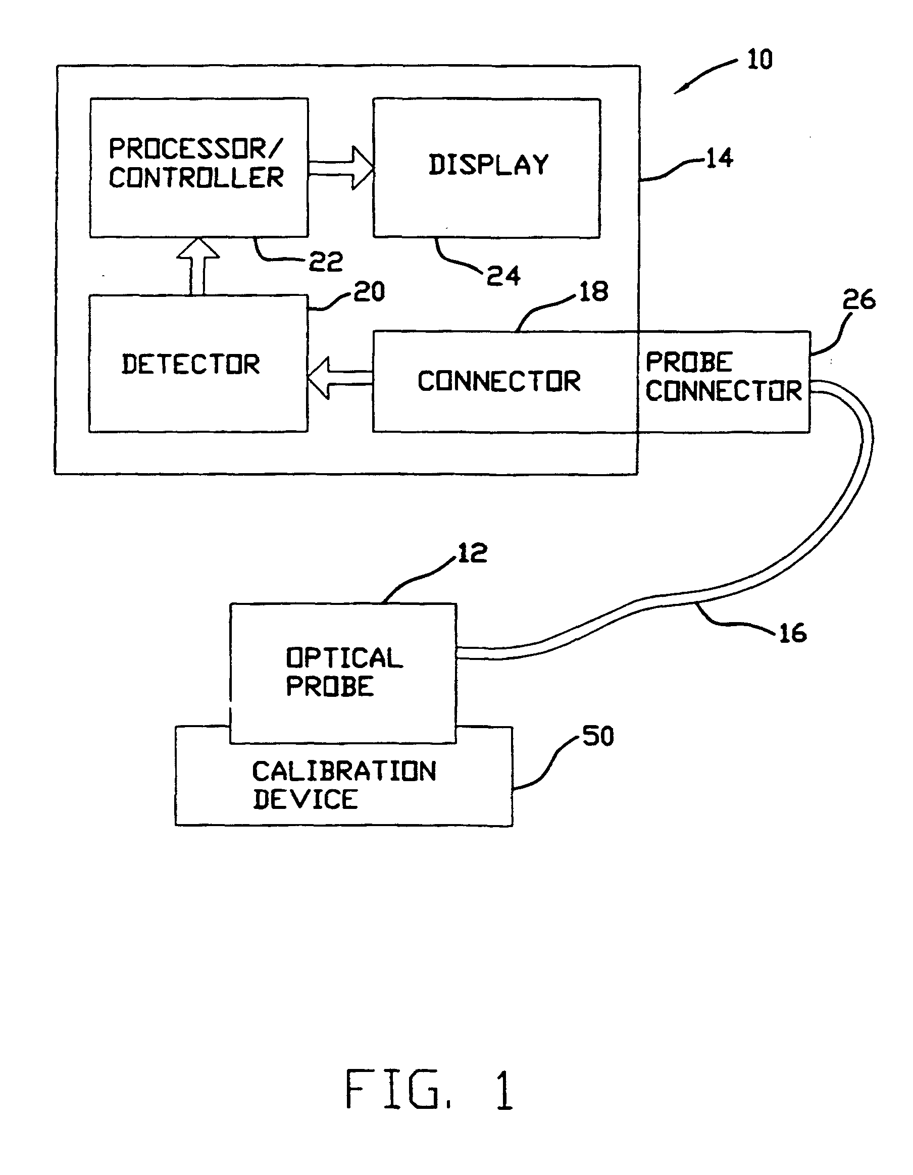
标题:
Spectrophotometric instrument with calibration mode recognition
授权日:
2005-06-01
公开(公告)号:
EP1181530B1
申请日:
2000-06-01
公开(公告)日:
2005-06-01
当前申请(专利权)人:
HUTCHINSON TECHNOLOGY, INC.
发明人:
FLESSLAND, LARRY, D. | GRITSENKO, SERGEY, I. | LEWANDOWSKI, MARK, S. | MYERS, DEAN, E.
简单同族:
AU2000051777A1 | DE60020557D1 | DE60020557T2 | EP1181530A1 | EP1181530B1 | JP2003501650A | WO2000075635A1
简单同族成员数量:
7
简单同族被引用专利总数:
5
诉讼案件数:
0
法律状态/事件:
权利终止