标题:
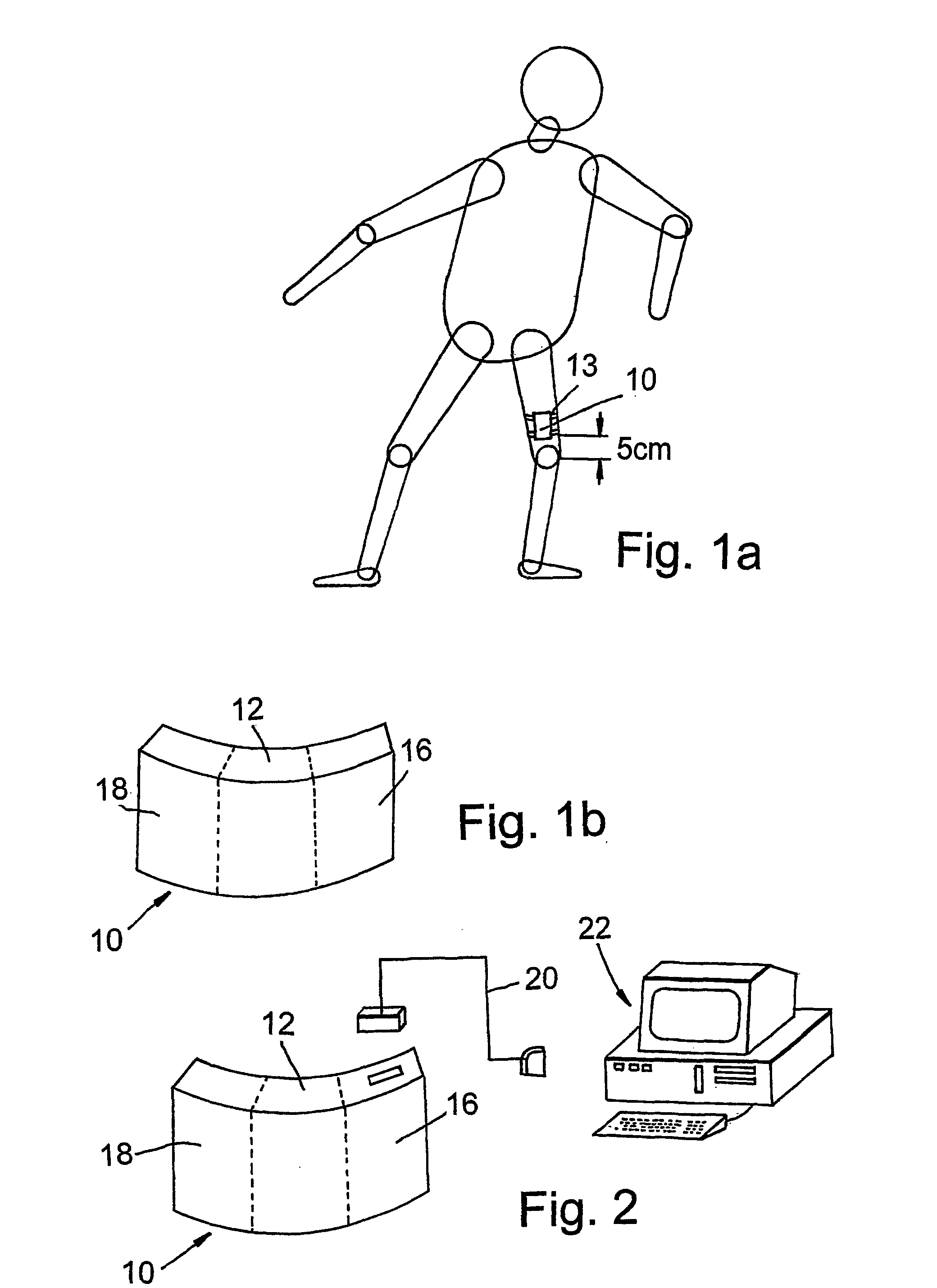
Activity monitor
授权日:
2005-05-11
公开(公告)号:
EP1367940B1
申请日:
2002-03-11
公开(公告)日:
2005-05-11
当前申请(专利权)人:
UNIVERSITY OF STRATHCLYDE
发明人:
MAXWELL, DOUGLAS, JAMES | GRANAT, MALCOLM, HOWARD | BARBENEL, JOSEPH, CYRIL
简单同族:
AT295119T | DE60204123D1 | DE60204123T2 | EP1367940A1 | EP1367940B1 | GB0106037D0 | JP2004533281A | US20040112151A1 | US8342045 | WO2002071945A1
简单同族成员数量:
10
简单同族被引用专利总数:
63
诉讼案件数:
0
法律状态/事件:
授权