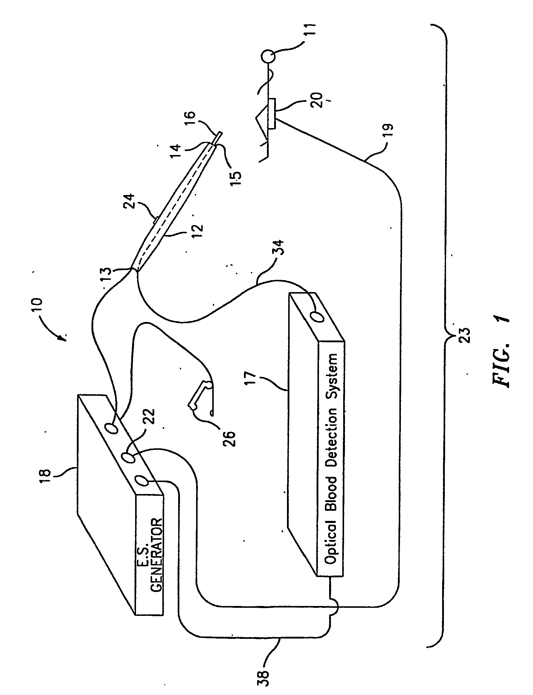
标题:
Blood detector for controlling an esu
授权日:
2007-08-29
公开(公告)号:
EP1501435B1
申请日:
2003-05-06
公开(公告)日:
2007-08-29
当前申请(专利权)人:
COVIDIEN AG
发明人:
PODHAJSKY, RONALD, J.
简单同族:
AT371413T | AU2003265331A1 | AU2003265331B2 | AU2008202721A1 | AU2008202721A2 | AU2008202721B2 | CA2484875A1 | CA2484875C | DE60315970D1 | DE60315970T2 | EP1501435A1 | EP1501435B1 | ES2289307T3 | JP2005524441A | JP2005524441A5 | JP4490807B2 | US20060025760A1 | US7749217 | WO2003092520A1
简单同族成员数量:
19
简单同族被引用专利总数:
296
诉讼案件数:
0
法律状态/事件:
权利终止 | 权利转移