首页
专利数据库
产业人才
行业动态
产业政策法规
维权援助
个人中心
登录/注册
详情
文本
图像
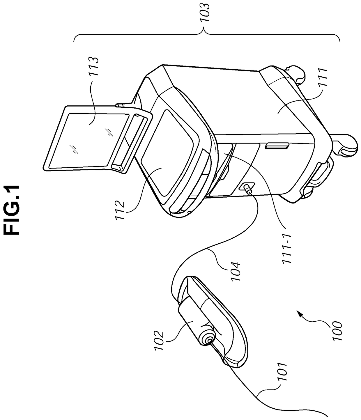
标题:
Optical coherent cross-sectional image forming apparatus
授权日:
2017-11-01
公开(公告)号:
EP2371275B1
申请日:
2011-03-25
公开(公告)日:
2017-11-01
当前申请(专利权)人:
TERUMO KABUSHIKI KAISHA
发明人:
ONIMURA, YUUJI
简单同族:
EP2371275A1 | EP2371275B1 | JP2011200596A | JP5485760B2 | US20110237958A1 | US8346348
简单同族成员数量:
6
简单同族被引用专利总数:
6
诉讼案件数:
0
法律状态/事件:
授权